Запчасти Bobcat 500s SOUND OPTION (90 Decibels) ACCESSORIES & OPTIONS

Схема запчастей Bobcat 500s - SOUND OPTION (90 Decibels) ACCESSORIES & OPTIONS
FIT
1:1
100%

Артикул

Название

Примечание

Количество

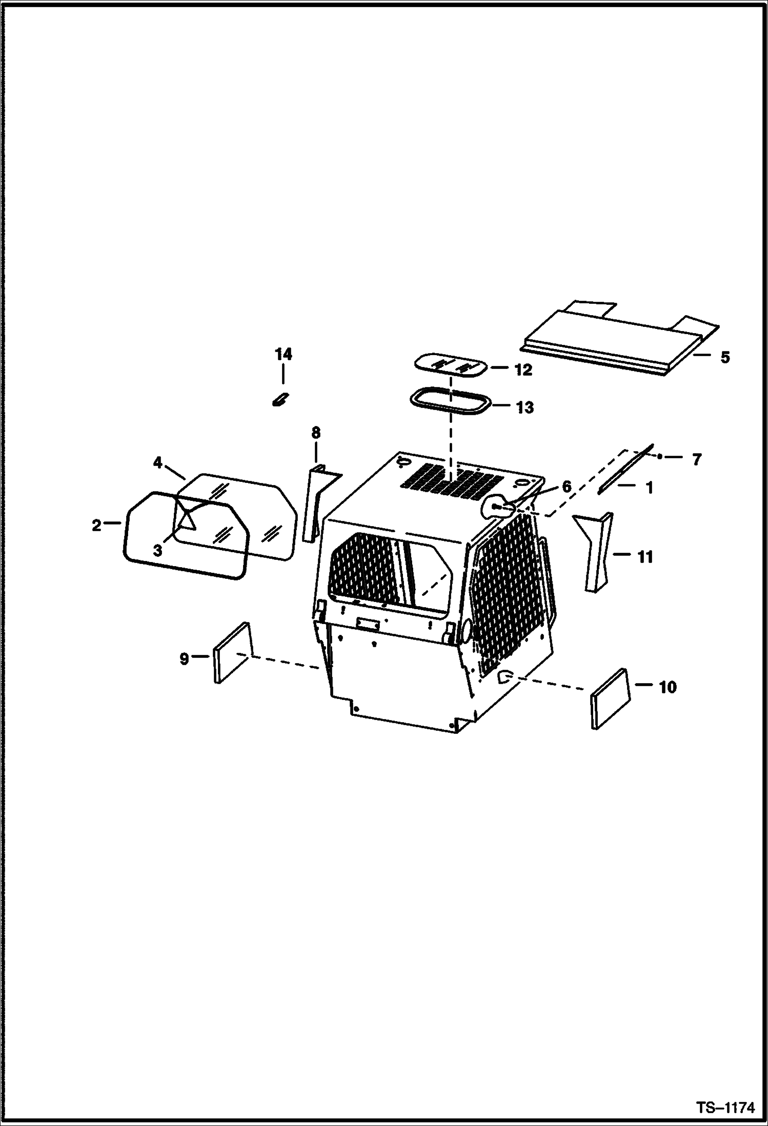
1

6703159

TRACK RH

1

6703160

TRACK LH

2

6665568

EXTRUSION bulk - Sold Per Foot - Use W/6701651 window

2

6675387

EXTRUSION bulk - sold per foot - Use W/Ref. 4 (6729730 window)

2

6554149

CORD, BULK/FT bulk - sold per foot - Also Order Ref. 3 (6731478 exit tag) - Was 6554223

3

6731478

EXIT TAG Was 6559515 - A

4

WIND.REAR NLA - Order 6729730 window - Also Order 2134mm (84'') of 6675387 seal and 6554149 cord - Was 6701651 - A

4

6729730

WINDOW rear - Use W/6675387 seal

5

6715094

INSULATION cab top - Was 6712537 - A

6

35C410

BOLT 5

7

83D4

NUT 10

8

6715098

INSULATION cab back - L.H. - Was 6706156 - A

9

6703451

INSULATION cab side

10

6703452

INSULATION cab side

11

6715097

INSULATION cab back - R.H. - Was 6706157 - A

12

6705735

WINDOW top

13

6664351

SEAL Use W/cab headliner

13

6665012

SEAL Use W/O cab headliner

14

6669308

RETAINER snap-in

Выбрано товаров: 19