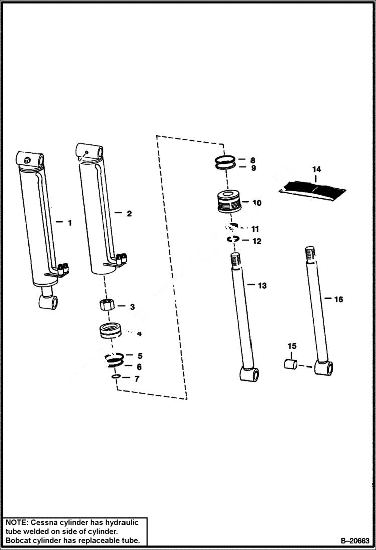
Запчасти Bobcat 600s TILT CYLINDER (Cessna - 3.25 Bore) (S/N 4997 12001 & Above) & (S/N 5005 11001 & Above) HYDRAULIC SYSTEM

Схема запчастей Bobcat 600s - TILT CYLINDER (Cessna - 3.25 Bore) (S/N 4997 12001 & Above) & (S/N 5005 11001 & Above) HYDRAULIC SYSTEM
FIT
1:1
100%

Артикул

Название

Примечание

Количество

1

CYLINDER See BTI167 NLA - tilt - - Order 6593398

2

6592040

CASE

3

6810539

NUT Was 86D000018B - A

4

6558778

PISTON

5

SEAL NSS

6

O-RING NSS

7

O-RING NSS

8

O-RING NSS

9

WASHER NSS - back-up

10

6558774

HEAD

11

SEAL NSS - rod

12

SEAL NSS - wiper

13

ROD See BTI167 NLA - cylinder - W/Out bushing - Order Ref. 16 - Was 6559586 - A

14

7135551

KIT, SEAL Ref. 5-9, 11 & 12 - Was 6804605 - A

15

6589665

BUSHING Use W/Ref. 16

16

6589783

ROD With Bushings

Выбрано товаров: 16