Качественные детали и логистика
Оригинальные и аналоговые запчасти с доставкой по России, Казахстану и Беларуси
©2022 PartSell ООО "Система" ИНН 2463123282 ОГРН 1212400004838
Центральный офис: г. Красноярск, Академика Киренского, д.87, пом.4
Телефон: 8 (800) 777-65-74 Email: zakaz@partsell.ru
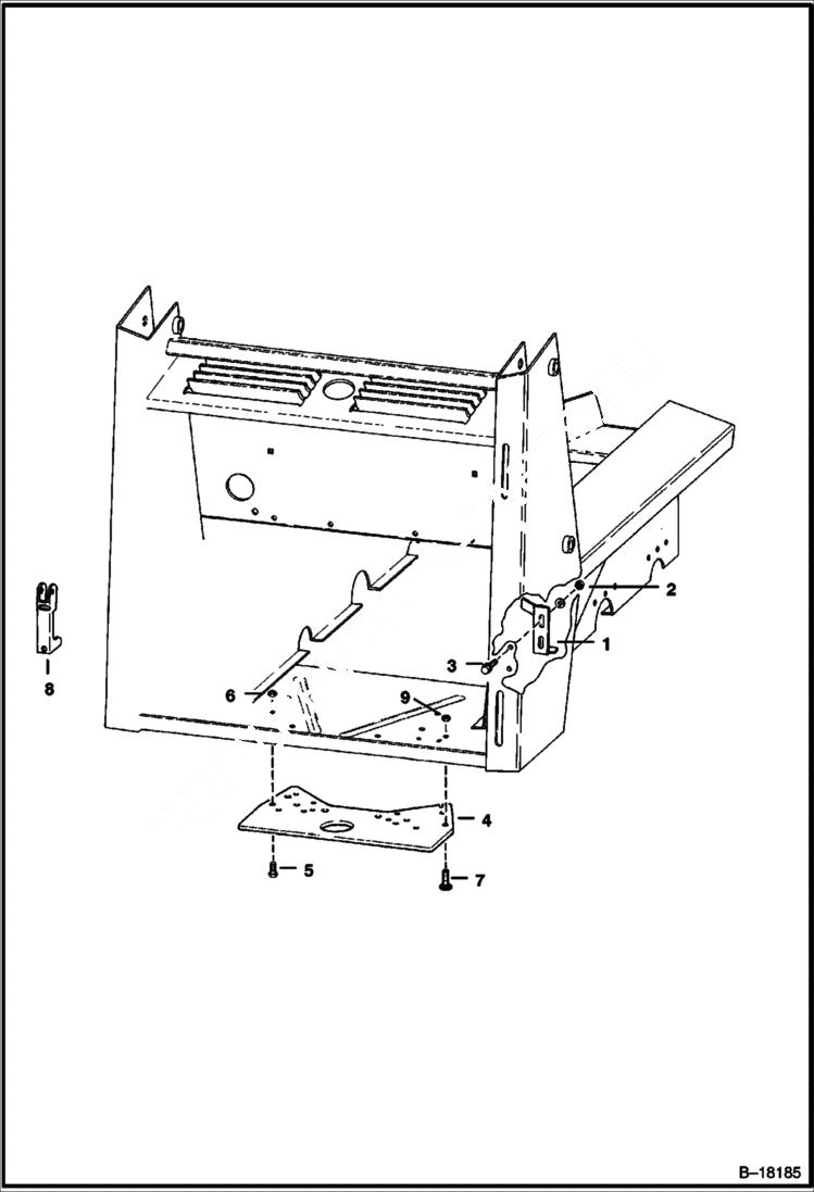
EUROPEAN ACCESSORIES (Door Stop & Tow Hitch)
№
Артикул
Название
Примечание
Количество
1
6563614
DOOR STOP
2
6563612
BUSHING
3
84G3724
BOLT
4
6563613
HITCH
5
17C824
BOLT 5
6
83D8
NUT 5
7
17C628
BOLT Was 7C-832 - B
8
6563681
HANDLE rear door - Was 6563989 - A
9
83D6
Выбрано товаров: 0