Качественные детали и логистика
Оригинальные и аналоговые запчасти с доставкой по России, Казахстану и Беларуси
©2022 PartSell ООО "Система" ИНН 2463123282 ОГРН 1212400004838
Центральный офис: г. Красноярск, Академика Киренского, д.87, пом.4
Телефон: 8 (800) 777-65-74 Email: zakaz@partsell.ru
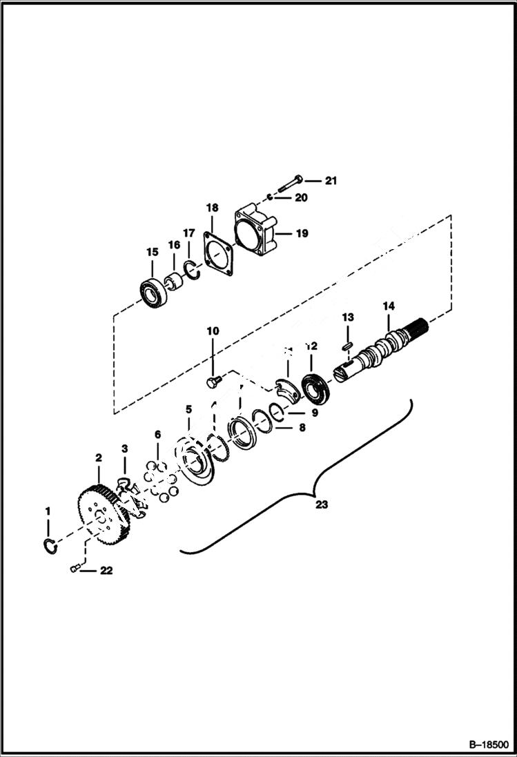
FUEL CAMSHAFT
№
Артикул
Название
Примечание
Количество
1
5JM24
CIRCLIP
2
6653900
GEAR Was 3974615B - A
3
3974960
GUIDE
4
6969817
BALL Was 10J5 - A
5
3974617
SLEEVE
6
10J20
BALL
7
6655214
CASE Was 3974619B - A
8
3974620
CIR-CLIP
9
3974618
10
1CM814
BOLT Was 4CM814 - A
11
3974624
STOPPER
12
302714
BEARING
13
6598099
KEY
14
CAMSHAFT NSS
15
851242
16
3974629
COLLAR
17
5JM25
18
6666827
GASKET In 6630553 Gasket Kit - Was 3974630B - A
19
3974996
COVER Was 3974628B - A
20
6EM12
WASHER spring
21
1CM865
SCREW
22
12JM310
RIVET
23
6598711
CAMSHAFT assy. - Ref. 1-9, 12-14 & 22
CAMSHAFT NLA - assy. - Ref. 1-9, 12-14 & 22 - Was 6656482 - A
Выбрано товаров: 0