Качественные детали и логистика
Оригинальные и аналоговые запчасти с доставкой по России, Казахстану и Беларуси
©2022 PartSell ООО "Система" ИНН 2463123282 ОГРН 1212400004838
Центральный офис: г. Красноярск, Академика Киренского, д.87, пом.4
Телефон: 8 (800) 777-65-74 Email: zakaz@partsell.ru
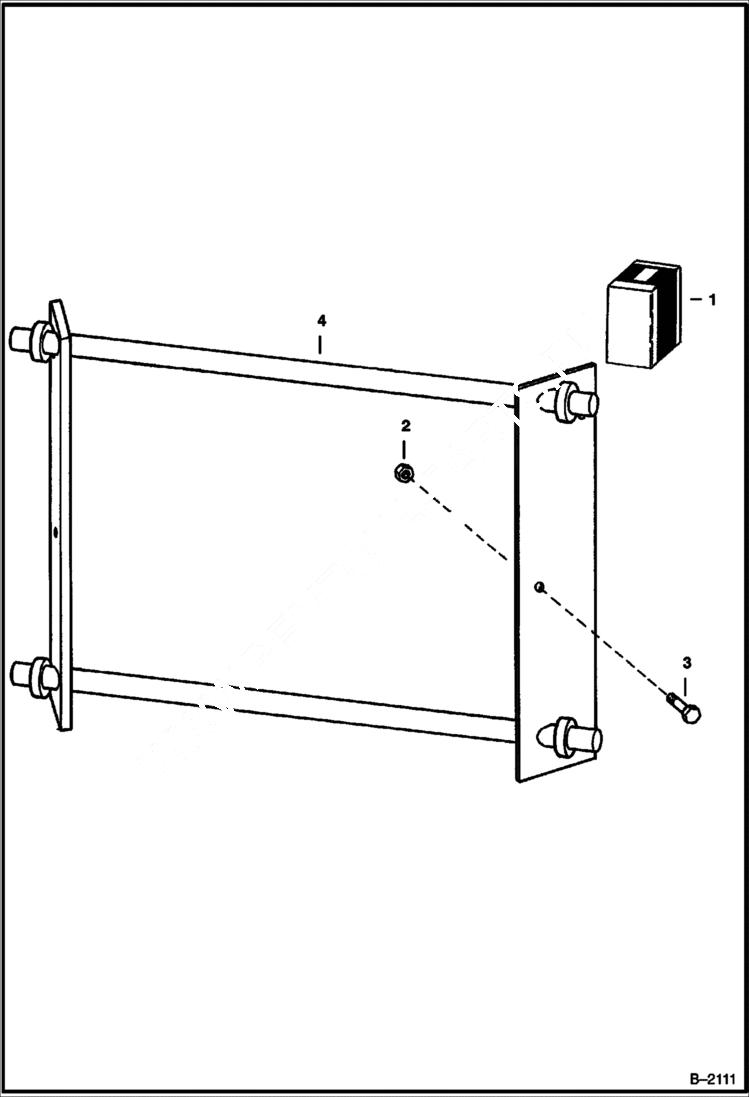
REAR BOB-TACH
№
Артикул
Название
Примечание
Количество
1
KIT NLA - Rear Bob-Tach - Order Ref. 2-4
2
61D12
NUT
3
17C1232
BOLT
4
6546326
BOB-TACH Rear
Выбрано товаров: 0