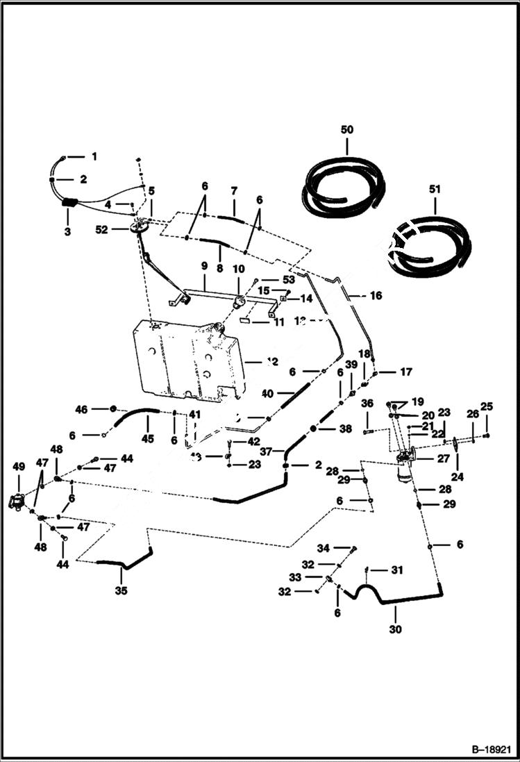
Запчасти Bobcat 700s FUEL SYSTEM (S/N 11632 & Below) MAIN FRAME

Схема запчастей Bobcat 700s - FUEL SYSTEM (S/N 11632 & Below) MAIN FRAME
FIT
1:1
100%

Артикул

Название

Примечание

Количество

1

6560117

WIRE

2

742876

GROMMET

3

6562606

SEAL

4

87G1010

SCREW Was 85G001010B - B

5

6563210

SENDER Fuel - includes gasket

6

42HS04

CLAMP, HOSE Was 6515575 - A

7

HOSE NLA - 6'' (152,4 mm) - Order Ref. 50

8

HOSE NLA - 7'' (177,8 mm) - Order Ref. 51

9

6562559

BAND

10

6661114

CAP. DIESEL Green - Was 6632468 - A

10

CAP NLA - locking - W/Ref. 53 - Code 6C020 - Was 6635877 - A

11

6661696

CAP, FUEL LOCKING rubber - W/Key Code PK510 - Was 6563233 - A

12

TANK See BTI216 NLA

13

6562548

TUBE

14

6559447

WASHER square

15

84G3716

SCREW 5

16

6562547

TUBE

17

62F4

ELBOW

18

6562553

VALVE shut off

19

6515682

PLUG

20

6515466

WASHER

21

6515676

PLUG

22

6515468

WASHER

23

61D5

NUT

24

6562402

BRACKET

25

10C512

BOLT Was 6553808 - A

26

61D6

NUT 5

27

FILTER See Illustration FUEL SYSTEM/ C2462

28

25K20014

O RING 10

29

6560355

FITTING

30

HOSE NLA - 23'' (584,2 mm) - Order Ref. 50

31

6513471

CLAMP

32

2FM12155

WASHER

33

6511033

CONNECTOR banjo

34

6666396

SCREW hollow - Was 6514745 - A

35

HOSE NLA - 18'' (457,2 mm) - Order Ref. 50

36

17C616

BOLT 5

37

HOSE NLA - 30'' (762 mm) - Order Ref. 50

38

6515603

GROMMET

39

6505813

CONNECTOR

40

HOSE NLA - 2'' (50,8 mm) - Order Ref. 50

41

6563132

TUBE

42

17C512

BOLT 5

43

30H15

CLIP

44

6555921

BOLT hollow

45

HOSE NLA - 7'' (177,8 mm) - Order Ref. 50

46

1303932

GROMMET Was 1318291 - A

47

6513763

WASHER Was 2FM14180B - A

48

6511899

ADAPTER banjo

49

FUEL PUMP See Illustration FUEL SYSTEM/ C2462

50

6577821

HOSE bulk - sold per foot - Was 672221 - A

51

6577822

HOSE bulk - Sold Per Foot Only - Order Feet Required - Was 6562515 - A

52

6630972

GASKET

53

6654374

KEY Code 6C020

53

6587458

KEY Code PK510

Выбрано товаров: 55