Качественные детали и логистика
Оригинальные и аналоговые запчасти с доставкой по России, Казахстану и Беларуси
©2022 PartSell ООО "Система" ИНН 2463123282 ОГРН 1212400004838
Центральный офис: г. Красноярск, Академика Киренского, д.87, пом.4
Телефон: 8 (800) 777-65-74 Email: zakaz@partsell.ru
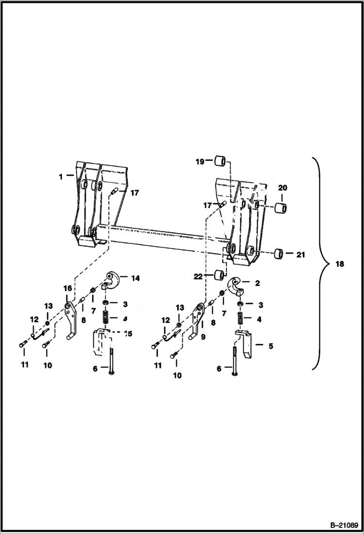
BOB-TACH (S/N 12001 & Above)
№
Артикул
Название
Примечание
Количество
1
FRAME NLA
2
6548581
LINK R.H.
3
7D8
NUT 5
4
6548407
SPRING
5
6548913
WEDGE R.H.
6
17C896
BOLT
7
25E18
WASHER
8
6555384
BUSHING
9
6555740
LEVER R.H.
10
17C628
11
17C608
12
6511880
PIN lock
13
25E17
WASHER 5
14
6548541
LINK L.H.
15
6548912
WEDGE L.H.
16
6555738
LEVER L.H.
17
6548605
STUD
18
6549330
BOB-TACH See Illustration DECALS/ B21112 Assy. - Ref. 1-17 - Also Order 6561383 decal
19
6549328
20
6549324
21
6549323
22
6549327
Выбрано товаров: 0