Качественные детали и логистика
Оригинальные и аналоговые запчасти с доставкой по России, Казахстану и Беларуси
©2022 PartSell ООО "Система" ИНН 2463123282 ОГРН 1212400004838
Центральный офис: г. Красноярск, Академика Киренского, д.87, пом.4
Телефон: 8 (800) 777-65-74 Email: zakaz@partsell.ru
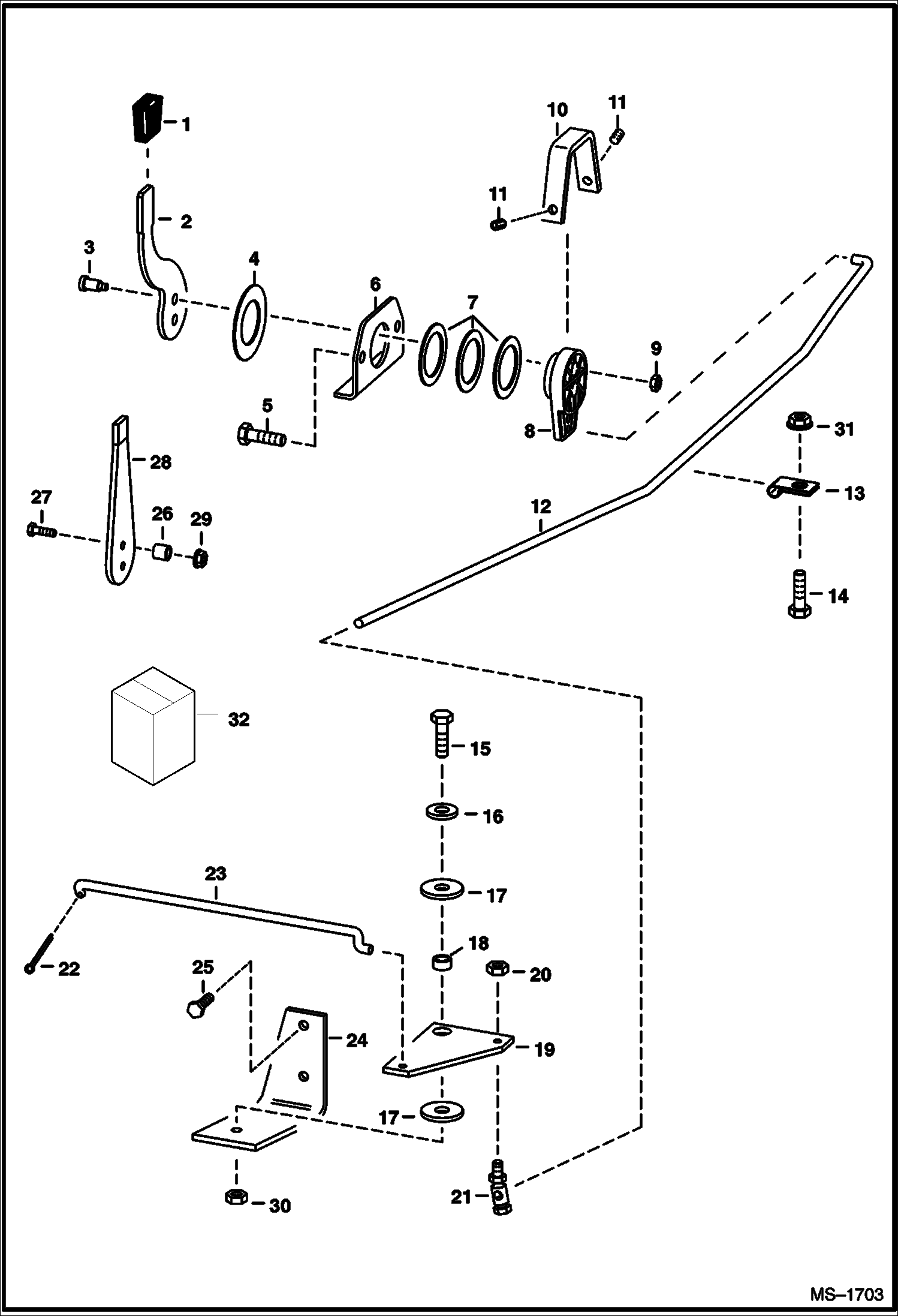
THROTTLE
№
Артикул
Название
Примечание
Количество
1
6564452
GRIP
2
6705452
LEVER
3
38C610
BOLT shoulder
4
6567962
WASHER
5
84G3724
BOLT Use 17C000624B W/Threaded Panel
6
6576262
MOUNT
7
6630945
8
LEVER NLA - Order 6705225 Lever, Ref. 2 and (2) ea. of Ref. 3 & 9 - Was 6703492 - C
LEVER NLA - 2-hole rod attachment - Order 6734416 lever - Was 6709022 - A
6734416
LEVER 3-hole rod attachment
9
85D5
NUT 5
10
6576261
COVER
11
6706572
SET SCREW Was 15G000512B - B
12
6579741
ROD
13
30H19
CLIP
14
17C512
BOLT 5
15
84G3720
BOLT
16
25E18
17
6700170
WASHER plastic
18
6564343
SPACER
19
6701187
BELLCRANK
20
85D4
21
6557291
BALL JOINT
22
6631418
RING, RETAINING
23
6579740
24
6579743
25
1CM820
26
6703491
27
17C518
28
6567911
29
57D5
NUT
30
95D6
NUT Was 91D000006B - A
31
61D5
Выбрано товаров: 0