Запчасти Bobcat 800s SEAL ENCLOSURE KIT ACCESSORIES & OPTIONS
FIT
1:1
100%
№
Артикул
Название
Примечание
Количество
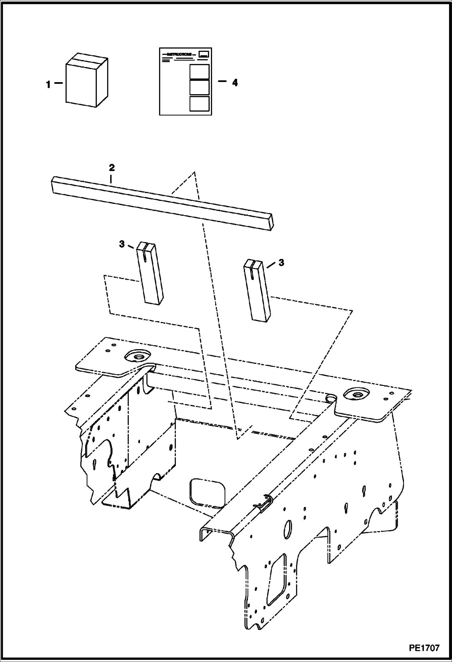
1
6732720
KIT, SEAL ENCLOSURE
2
6731108
SEAL retainer
3
6732619
SEAL panel
4
6901774
INSTRUCTIONS
Выбрано товаров: 4
№
Артикул
Название
Примечание
Количество
1
6732720
KIT, SEAL ENCLOSURE
2
6731108
SEAL retainer
3
6732619
SEAL panel
4
6901774
INSTRUCTIONS
Выбрано товаров: 4