Качественные детали и логистика
Оригинальные и аналоговые запчасти с доставкой по России, Казахстану и Беларуси
©2022 PartSell ООО "Система" ИНН 2463123282 ОГРН 1212400004838
Центральный офис: г. Красноярск, Академика Киренского, д.87, пом.4
Телефон: 8 (800) 777-65-74 Email: zakaz@partsell.ru
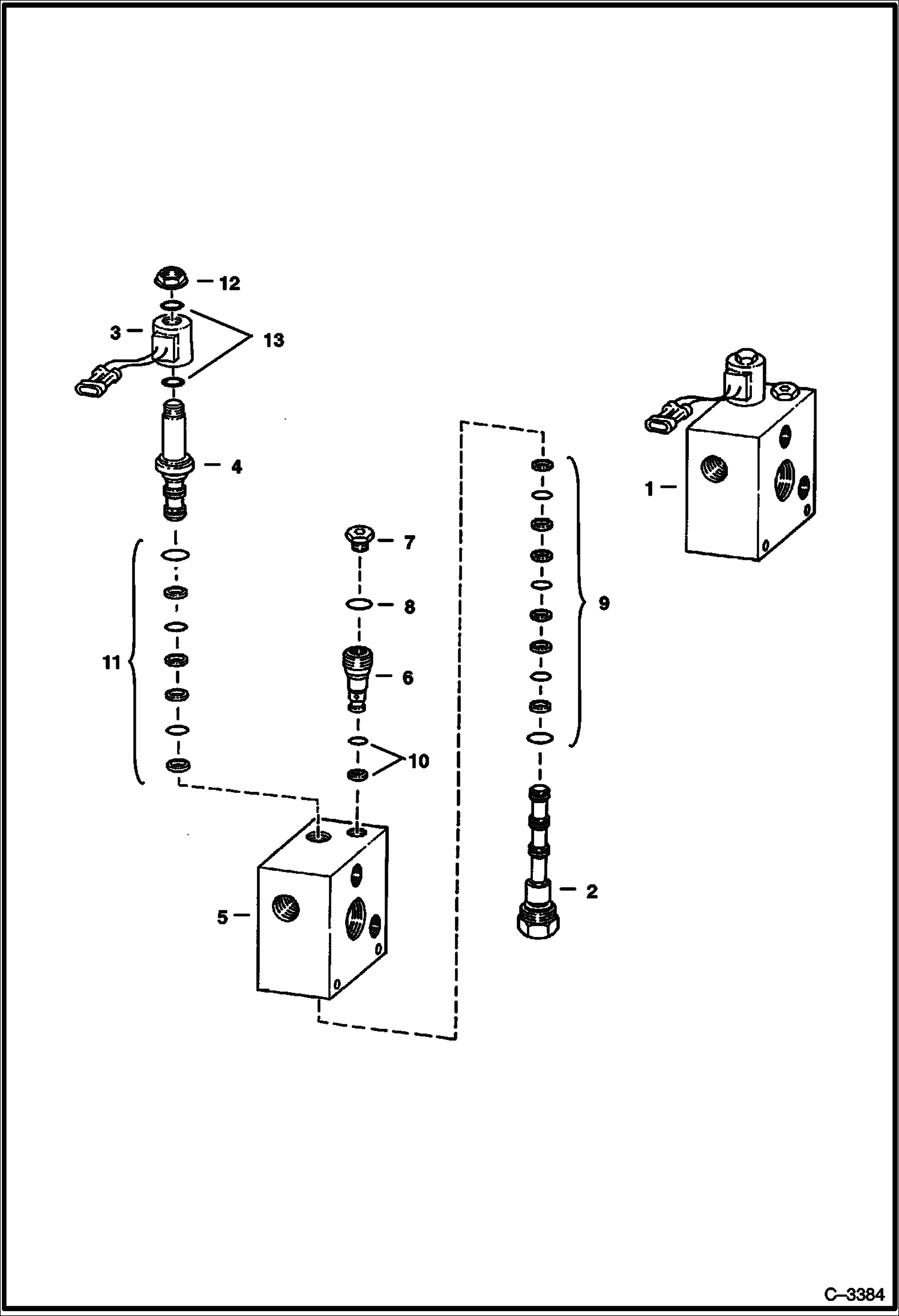
TILT LOCK VALVE
№
Артикул
Название
Примечание
Количество
1
6665108
VALVE Ref. 2-11
2
6667125
VALVE
3
COIL NLA - W/O Diode - Was 6667138 - A
6671025
COIL W/ Diode
4
6667687
VALVE, STEM SOLENOID Was 6665004 - A
5
BLOCK NSS
6
6665609
CHECK VALVE
7
6667127
PLUG
8
6667131
O-RING
9
6667130
SEAL KIT
10
6665611
11
6665487
12
6668820
NUT
13
6669076
Выбрано товаров: 0