Качественные детали и логистика
Оригинальные и аналоговые запчасти с доставкой по России, Казахстану и Беларуси
©2022 PartSell ООО "Система" ИНН 2463123282 ОГРН 1212400004838
Центральный офис: г. Красноярск, Академика Киренского, д.87, пом.4
Телефон: 8 (800) 777-65-74 Email: zakaz@partsell.ru
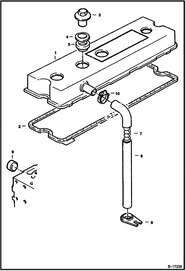
ROCKER ARM COVER
№
Артикул
Название
Примечание
Количество
1
COVER NLA - Cylinder Head - Order 6681592 & 6680409 - Was 6672780 - A
2
6672781
GASKET Was 6670937 - A
3
6669136
NUT
4
3575075
WASHER
5
7000007
SEAL
6
6672296
HOSE
7
6671651
SPRING
8
6668500
BRACKET
9
6670939
PLUG
10
6674324
CLAMP
Выбрано товаров: 0