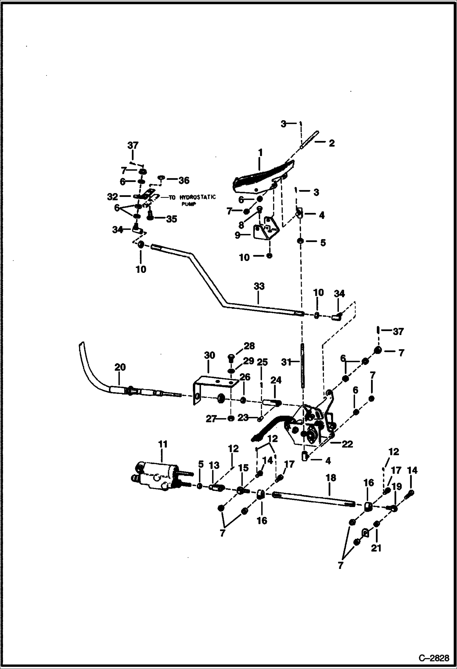
Запчасти Bobcat Articulated Loaders HYDROSTATIC CONTROLS HYDROSTATIC SYSTEM

Схема запчастей Bobcat Articulated Loaders - HYDROSTATIC CONTROLS HYDROSTATIC SYSTEM
FIT
1:1
100%

Артикул

Название

Примечание

Количество

1

6584790

PEDAL

2

6585458

PIN Was 6584792 - A

3

1F416

PIN

4

6584795

BALL JOINT

5

8D6

NUT 5

6

25E17

WASHER 5

7

4D6

NUT

8

17C616

BOLT 5

9

6584791

MOUNT

10

85D6

NUT, 5

11

SERVO See Illustration SERVO/ B20577

12

1F316

PIN

13

6585434

CLEVIS

14

6585423

SCREW

15

710852

BEARING

16

6584742

CLAMP

17

6584744

BOLT

18

6585415

ROD

19

6599745

ROD END

20

6630192

CABLE

21

27E6

WASHER 5

22

MECHANISM See Illustration BRAKE/ C2834 See Illustration CENTERING MECHANISM/ B9272 CENTERING

23

4F4051

PIN

24

2J4200

CLEVIS

25

1F208

PIN

26

8D4

NUT

27

85D5

NUT 5

28

17C512

BOLT 5

29

25E16

WSHR

30

6585466

BRACKET

31

6585478

ROD Was 6585242 - A

32

6530721

BRACKET

33

6530931

ROD

34

6584795

BALL JOINT

35

17C612

BOLT 5

36

83D6

NUT 5

37

1F312

PIN

Выбрано товаров: 37