Запчасти Bobcat Articulated Loaders STARTER ELECTRICAL SYSTEM

Схема запчастей Bobcat Articulated Loaders - STARTER ELECTRICAL SYSTEM
FIT
1:1
100%

Артикул

Название

Примечание

Количество

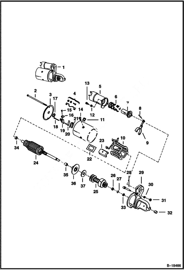
1

STARTER NLA - Delco 1108692 - Order 6660797REM, 6567048, 4DM00005B & 4DM00010B

2

BOLT NLA - thru - Was 895675B - A

3

FRAME NLA - Was 883008B - A

4

877650

SUPPORT brush support package

5

884581

SWITCH

6

888968

SPRING

7

PLUNGER NSS

8

PIN NLA - Was 999472B - A

9

896126

LEVER

10

COIL NLA - field - 4 Coils - Was 991101B - A

11

GROMMET NLA - Was 898131B - A

12

WASHER NSS - lock

13

SCREW NLA - Was 43G000408B - A

14

859377

SCREW

15

SCREW NLA - Was 65G000812B - A

16

BRUSHES NLA - Was 945239B - A

17

WASHER NLA - Was 863995B - A

18

PIN NSS

19

871515

HOLDER brush

20

6656399

SPRING brush - Was 871517B - A

21

880603

HOLDER brush

22

INSULATOR NSS

23

POLE SHOE NSS

24

6511629

ARMATURE Was 991100B - A

25

6645247

DRIVE ASSY. Was 899271B - A

26

STOP NLA - Was 878608B - A

27

942142

SNAP RING

28

884576

BOLT.

29

6630419

HOUSING drive - W/Ref. 32 - Was 991099B - A

30

WASHER NSS

31

NUT NLA - Was 856357B - A

32

860669

BUSHING

33

850363

COLLAR thrust

34

874935

BUSHING

35

BUSHING NSS - Purchase locally

36

6630411

PLATE center bearing - Was 871524 - A

37

WASHER NSS

Выбрано товаров: 0