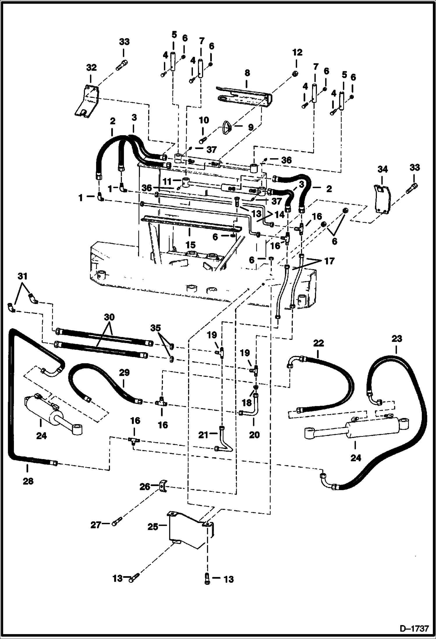
Запчасти Bobcat Feller Buncher SHEAR HYDRAULIC SYSTEM ACCESSORIES & OPTIONS

Схема запчастей Bobcat Feller Buncher - SHEAR HYDRAULIC SYSTEM ACCESSORIES & OPTIONS
FIT
1:1
100%

Артикул

Название

Примечание

Количество

1

77F6

ELBOW

2

6568562

HOSE

3

6569212

HOSE

4

17C640

BOLT 5

5

6568039

PIN

6

85D6

NUT, 5

7

6568040

PIN

8

6568998

SHIELD

9

6569000

BAND

10

7C632

BOLT

11

6593084

CYLINDER See Illustration GRAB ARM & ACCUMULATOR CYLINDER/ B8991

12

57D6

NUT 5

13

17C620

BOLT

14

6568295

TUBE

15

6569208

SHIELD

16

6569146

TEE

17

6569370

TUBE

18

6568586

ORIFICE .240/.248

19

TEE NLA - Was 90F000007B - A

20

6568297

TUBE

21

6568296

TUBE

22

6569215

HOSE

23

6569216

HOSE

24

6593095

CYLINDER See Illustration SHEAR CYLINDER/ B8990

25

6568351

COVER

26

6502203

CLAMP

27

17C632

BOLT 5

28

6569214

HOSE

29

6569213

HOSE

30

6569673

HOSE

31

12K7

UNION

32

6569155

COVER

33

84G3712

BOLT 5

34

6569154

COVER

35

86F7

LOCK NUT

36

10H25

FITTING, GREASE 5

37

11H15

GREASE FITTING

Выбрано товаров: 37