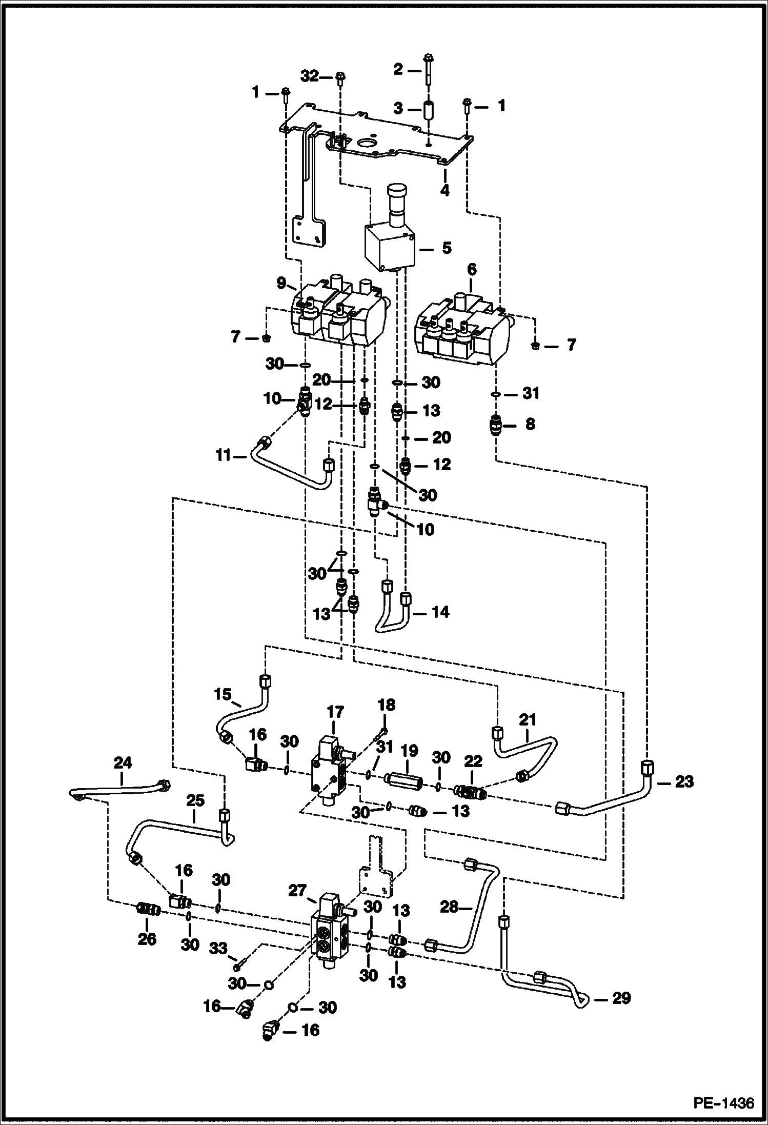
Запчасти Bobcat Mini Tracks Loaders HYDRAULIC CIRCUITRY (Travel Group) (S/N 5206 12036 & Bel, 5224 11117 & Bel) HYDRAULIC SYSTEM

Схема запчастей Bobcat Mini Tracks Loaders - HYDRAULIC CIRCUITRY (Travel Group) (S/N 5206 12036 & Bel, 5224 11117 & Bel) HYDRAULIC SYSTEM
FIT
1:1
100%

Артикул

Название

Примечание

Количество

1

35C516

BOLT 10

2

31C640

BOLT

3

6731460

SPACER

4

6731459

BRACKET valve assy

5

6678824

VALVE See Illustration SPEED CONTROL VALVE/ MS1277 SPEED CONTROL

6

VALVE See Illustration VALVE SECTION/ MS1278 NLA - work - Order 6681619 Valve - Was 6678828 - A

6

6681619

WORK VALVE

7

83D5

NUT 5

8

731793

CONNECTR W/Ref. 31

9

VALVE See Illustration VALVE SECTION/ MS1283 NLA - travel - Order 6680245 Valve - Was 6678829 - A

9

6680245

DRIVE VALVE See Illustration VALVE SECTION/ MS1283 Travel

10

6805166

TEE W/Ref. 30

10

97K8

O-RING flared end

11

6731493

TUBELINE

12

755056

CONNECTR W/Ref. 20

13

15KB0808

FITTING, HYD CONNECTOR W/Ref. 30 - Was 15KV00006B - A

13

97K8

O-RING flared end

14

6731464

TUBELINE

15

6731486

TUBELINE

16

18KB0808

FTG HYD ELBOW 45 W/Ref. 30 - Was 18KN00006B - A

16

96K8

O-RING flared end

17

6678822

VALVE See Illustration SINGLE VALVE/ B16130 SINGLE

18

17C428

BOLT Was 31C000432B - B

19

6678906

CHECK VALVE W/Ref. 31

20

79K6

O RING 10

21

6731462

TUBELINE

22

6731447

CROSS W/Ref. 30

22

97K8

O-RING flared end

22

97K10

O-RING 10 flared end

23

6731492

TUBELINE

24

6731463

TUBELINE

25

6731485

TUBELINE

26

17KB0808

FITTING, HYD ELBOW W/Ref. 30 - Was 17KV00006B - A

26

97K8

O-RING flared end

27

6678823

VALVE See Illustration VALVE/ B16131 DUAL

28

6731465

TUBELINE

29

6731480

TUBELINE

30

99K8

O-RING

31

79K8

O RING 10

32

35C520

BOLT Was 35C000612B - B

33

17C432

BOLT

Выбрано товаров: 41