Запчасти Bobcat S-Series HYDROSTATIC PUMP (Left Half) HYDROSTATIC SYSTEM

Схема запчастей Bobcat S-Series - HYDROSTATIC PUMP (Left Half) HYDROSTATIC SYSTEM
FIT
1:1
100%

Артикул

Название

Примечание

Количество

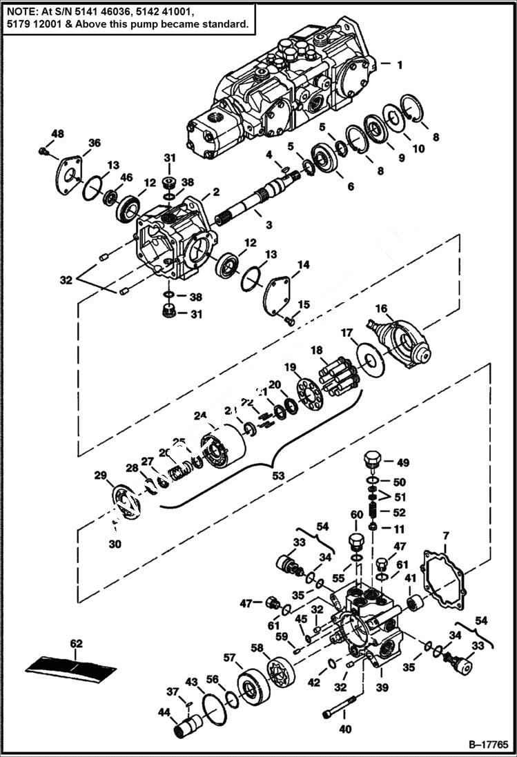
1

6681936

PUMP Model 4445098 - complete W/gear pump - standard flow - must use 6576196 bracket & 6706096 bracket from original pump - Was 6677649 - A

1

6681936REM

PUMP, HYD TANDEM, W/O GEAR PUMP

1

6681937

PUMP, HYD TANDEM Model 4445119 - complete W/gear pump - high flow - must use 6576196 bracket & 6706096 bracket from original pump - Was 6679131 - A

2

6669402

HOUSING

3

SHAFT NLA - W/woodruff key - Order 6682260 shaft & 6682261 key - Was 6669408 - A

3

6682260

SHAFT W/square key

4

6J807

KEY, WOODRUFF

4

6682261

KEY square

5

658128

RING, SNAP

6

654299

BEARING

7

6650634

GASKET

8

669863

RING, SNAP

9

6687191

SEAL, OIL Was 6645090 - A

10

6669409

WASHER

11

6650652

POPPET charge relief

12

6669411

BEARING

13

6660814

O-RING

14

6657068

COVER

15

6650668

BOLT

16

6685344

SWASHPLATE W/threaded shaft hole - Was 6671513 - A

17

6650627

PLATE

18

PISTON ASSY. NLA - Order Ref. 53

19

RETAINER NLA - Order Ref. 53

20

RETAINER NLA - guide - Order Ref. 53

21

6666338

WASHER

22

6650629

PIN

23

6650630

RETAINER

24

BLOCK NLA - Order Ref. 53

25

WASHER NLA - Order Ref. 53

26

SPRING NLA - Order Ref. 53

27

WASHER NLA - Order Ref. 53

28

WASHER NLA - Order Ref. 53

29

6676147

PLATE, VALVE

30

6650636

PIN

31

47K8

PLUG W/Ref. 38

32

6675342

PIN

33

PLUG NLA - Order Ref. 54

34

6657028

O-RING

35

79K8

O RING 10

36

6657067

COVER

37

6673885

PIN

38

79K12

O RING 10

39

6673878

END PLATE

40

6673886

BOLT

41

6650635

BEARING

42

6650647

O-RING

43

6673884

O-RING

44

COUPLER NLA - Order 7027859 coupler and 7027860 spacer - Was 6673877 - A

44

7027859

COUPLER

44

7027860

SPACER

45

6650646

O-RING

46

6678226

SEAL, OIL

47

6645086

PLUG W/Ref. 61

48

6671518

BOLT

49

6650648

PLUG charge relief - W/Ref. 50

50

79K10

O RING 10

51

6669410

KIT, SHIM charge relief

52

6673882

SPRING Was 6684038 - A

53

6675341

GROUP, ROTARY W/Ref. 18-28

54

6670685

RELIEF VALVE 5000 PSI (345 bar) - Was 6689601 - A

55

79K14

O RING 10

56

6673880

O-RING

57

6676145

SPACER

58

6676144

GEROTOR

59

3974795

PIN

60

24K7

PLUG

61

6661481

O-RING

62

6671516

KIT, SEAL See Illustration HYDROSTATIC PUMP/ D2427 Ref. 2, 3, 12 & 41 - Also includes Ref. 7, 9, 13, 34, 35, 42, 43, 45 & 46 on this page

Выбрано товаров: 68