Качественные детали и логистика
Оригинальные и аналоговые запчасти с доставкой по России, Казахстану и Беларуси
©2022 PartSell ООО "Система" ИНН 2463123282 ОГРН 1212400004838
Центральный офис: г. Красноярск, Академика Киренского, д.87, пом.4
Телефон: 8 (800) 777-65-74 Email: zakaz@partsell.ru
CONTROLS ELECTRICAL
№
Артикул
Название
Примечание
Количество
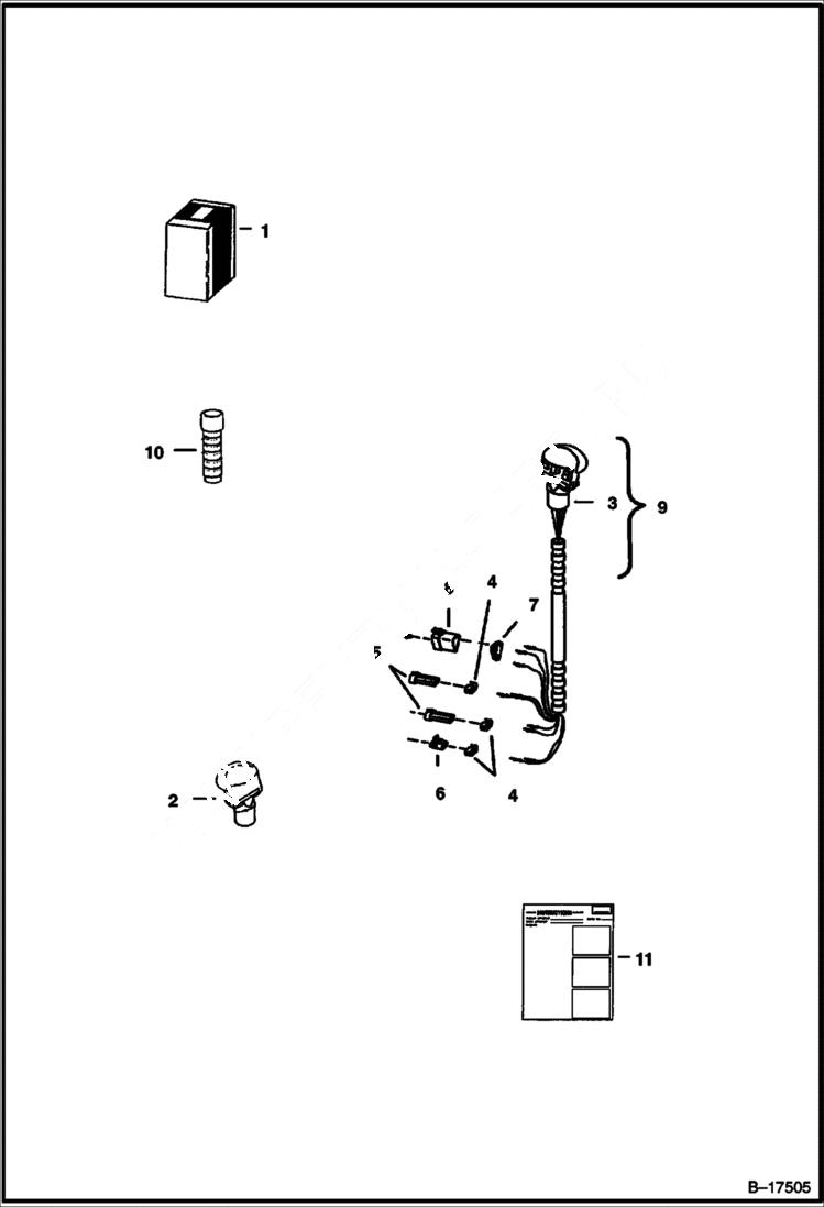
1
6706565
KIT R.H. - blank handle - Ref. 2 & 11
2
6680415
HANDLE R.H. - blank
3
6680412
HANDLE ASSY L.H. - Ref. 4, 5 & 6 - 8
6640690
PIN
6640691
6641176
SEAL
6662257
4
6641180
LOCK Use W/ 2-pin connector
6640700
LOCK 3-pin
5
6641179
CONNECTOR 2-pin
6640699
CONNECTOR 3-pin
6
6641178
7
6664800
LOCK 3-pin triangle
8
6664599
CONNECTOR 3-pin triangle
9
6706568
KIT handle - Ref. 3 - 5, 6 - 8 & 11
10
6702621
GRIP
11
6722759
INSTRUCTIONS
Выбрано товаров: 0