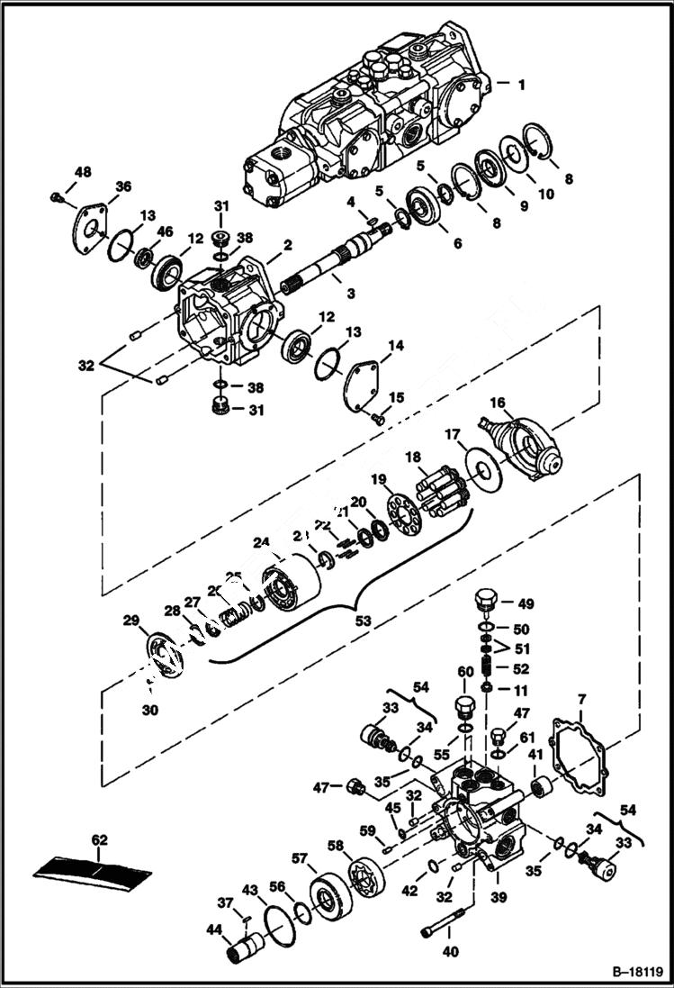
Запчасти Bobcat T-Series HYDROSTATIC PUMP (Left Half) HYDROSTATIC SYSTEM

Схема запчастей Bobcat T-Series - HYDROSTATIC PUMP (Left Half) HYDROSTATIC SYSTEM
FIT
1:1
100%

Артикул

Название

Примечание

Количество

1

PUMP, HYD TANDEM NLA - Model 4445060 - complete W/ 4-bolt flange gear pump - standard flow - must use 6576196 bracket & 6706096 bracket from original pump - Order 7001072 hyd tandem pump & 6673911 gea

1

6673910REM

PUMP, HYD TANDEM, W/O GEAR PUMP

1

PUMP, HYD TANDEM NLA - Model 4445117 - complete W/gear pump (cast iron) - standard flow - Order 7001071 hyd tandem pump & 6686703 gear pump or 6681934REM hyd tandem pump & 6686703 gear pump - Was 6681

1

6681934REM

PUMP, HYD TANDEM, W/O GEAR PUMP

1

PUMP, HYD TANDEM NLA - Model 4445061 - complete W/ 4-bolt flange gear pump - high flow - must use 6576196 bracket & 6706096 bracket from original pump - Order 7001072 hyd tandem pump & 6673913 gear pu

1

6673912REM

PUMP, HYD TANDEM, W/O GEAR PUMP

1

6681935

PUMP, HYD TANDEM Model 4445116 - complete W/integrated cast iron gear pump - high flow - Was 6679260 - A

1

6681935REM

PUMP, HYD TANDEM, W/O GEAR PUMP

2

6669402

HOUSING

3

SHAFT NLA - Order 6682260 shaft & 6682261 key - W/Woodruff key - Was 6669408 - A

3

6682260

SHAFT W/square key

4

6J807

KEY, WOODRUFF

4

6682261

KEY Square key

5

658128

RING, SNAP

6

654299

BEARING

7

6650634

GASKET

8

669863

RING, SNAP

9

6687191

SEAL, OIL Was 6645090 - A

10

6669409

WASHER

11

6650652

POPPET charge relief

12

6669411

BEARING

13

6660814

O-RING

14

6657068

COVER

15

6650668

BOLT

16

6685344

SWASHPLATE W/threaded shaft hole - Was 6671513 - A

17

6650627

PLATE

18

PISTON ASSY. NLA - Order Ref. 53

19

RETAINER NLA - Order Ref. 53

20

RETAINER NLA - guide - Order Ref. 53

21

6666338

WASHER

22

6650629

PIN

23

6650630

RETAINER

24

BLOCK NLA - Order Ref. 53

25

WASHER NLA - Order Ref. 53

26

SPRING NLA - Order Ref. 53

27

WASHER NLA - Order Ref. 53

28

WASHER NLA - Order Ref. 53

29

See BTI361 NLA - Was 6675340 - A

30

6650636

PIN

31

47K8

PLUG W/Ref. 38

32

6518460

PIN

33

PLUG NLA - Order Ref. 54

34

6657028

O-RING

35

79K8

O RING 10

36

6657067

COVER

37

6673885

PIN

38

79K12

O RING 10

39

6673878

END PLATE

40

6673886

BOLT

41

6650635

BEARING

42

6650647

O-RING

43

6673884

O-RING

44

COUPLER NLA - Order Ref. 57 (7027859 coupler and 7027860 spacer) - Was 6673877 - A

45

6650646

O-RING

46

6678226

SEAL, OIL Was 6673881 - A

47

6645086

PLUG

48

6671518

BOLT

49

6650648

PLUG charge relief - W/Ref. 50

50

79K10

O RING 10

51

6669410

KIT, SHIM charge relief

52

6673882

SPRING Was 6684038 - A

53

6671512

GROUP, ROTARY W/Ref. 18-28

54

6672535

RELIEF VALVE 4712 PSI (325 bar)

55

79K14

O RING 10

56

6673880

O-RING

57

SPACER NLA - Order 7027859 coupler and 7027860 spacer - Was 6673879 - A

57

7027859

COUPLER

57

7027860

SPACER

58

6673883

GEROTOR

59

3974795

PIN

60

24K7

PLUG

61

6661481

O-RING

62

6671516

KIT, SEAL Ref. 7, 9, 13, 34, 35, 42, 43, 45 & 46 - also includes Ref. 2, 3, 12 & 41 on Ill. B18123

Выбрано товаров: 73