Запчасти Bobcat T-Series LIFT CYLINDER (S/N 521912810, 522011133 & Below) HYDRAULIC SYSTEM

Схема запчастей Bobcat T-Series - LIFT CYLINDER (S/N 521912810, 522011133 & Below) HYDRAULIC SYSTEM
FIT
1:1
100%

Артикул

Название

Примечание

Количество

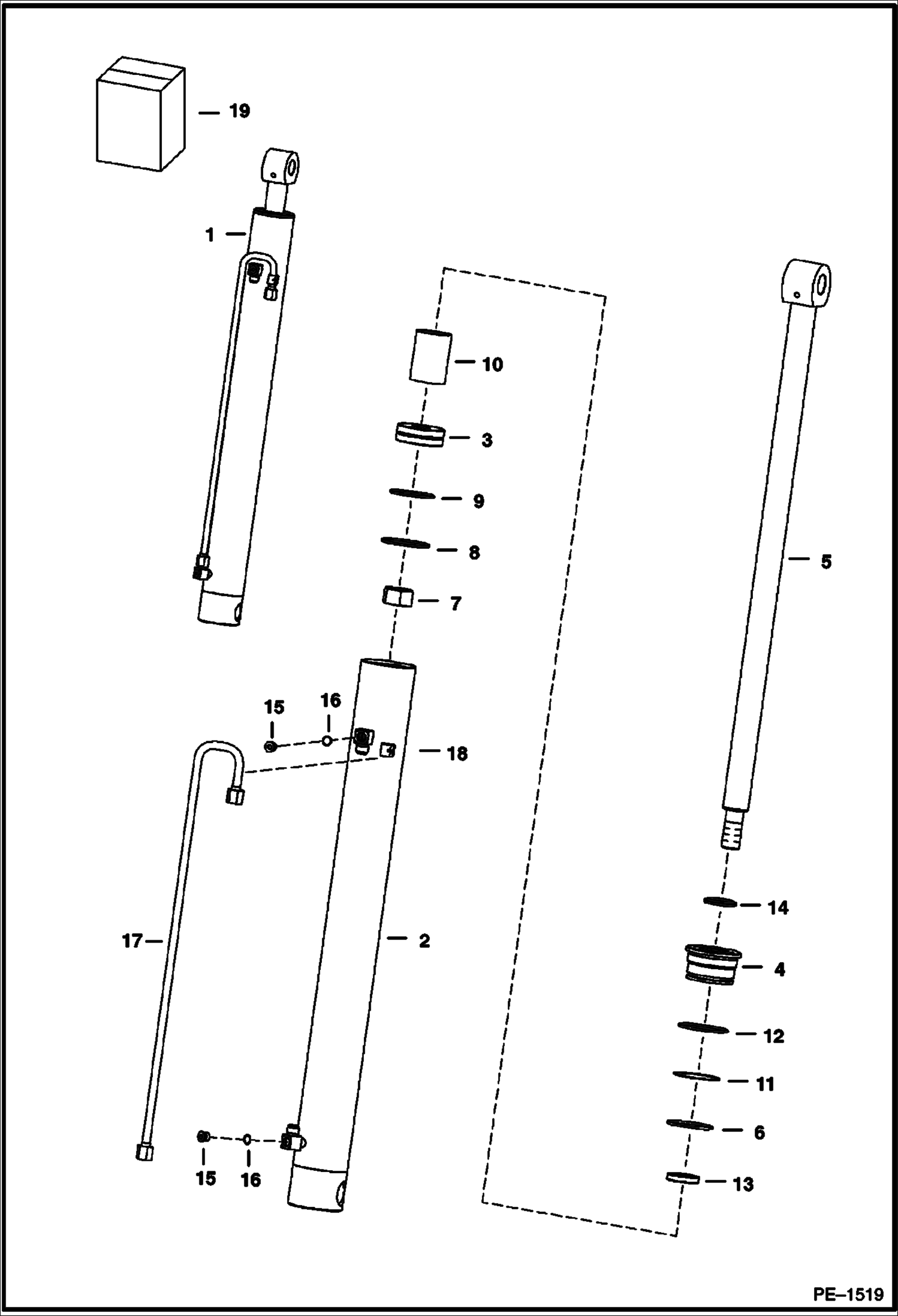
1

CYLINDER NLA - lift - Ref. 2-16 - Order 6817310 - Also Order 15H-15 grease zerk - Was 6815466 - A

2

CASE See BTI349 NLA - Order 6817311 , also Order 15H000015B grease zerk - Was 6815467 - A

3

6678933

PISTON

4

6804427

HEAD, CYL LIFT

5

6810188

SHAFT, ROD CYL LIFT

6

25K40224

O RING 10 Was 54K40224 - B

7

6810539

NUT Was 6804592 - A

8

947088

RING, BACK-UP

9

25K30218

O RING 10

10

6808235

SPACER

11

73K232

RING, BACK-UP back-up

12

58K234

O RING 10 Was 54K40300 - B

13

6669267

SEAL rod

14

6687000

WIPER ROD wiper - Was 6669268 - A

15

6812171

PLUG W/Ref. 16

16

75K6

O-RING

17

7115550

TUBELINE, HYD Was 6810741 - A

18

7137939

KIT, SEAL Ref. 7-14 - Was 6816536 - A

Выбрано товаров: 18