Запчасти Bobcat PRESSURE WASHER REPAIR KIT EQUIPMENT

Схема запчастей Bobcat PRESSURE WASHER - REPAIR KIT EQUIPMENT
FIT
1:1
100%

Артикул

Название

Примечание

Количество

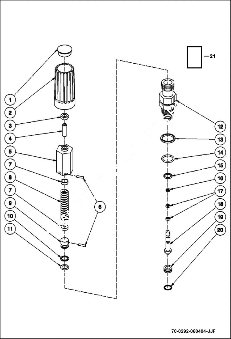
1

MM7-0178

KNOB PLUG

2

MM7-0179

UNLOADER KNOB

3

MM30-6024

NUT - M6-1.00P X 10MM

4

MM27-8959

SET SCREW - M6-1.00P X 20MM

5

MM8-0500

ADJUSTMENT BARREL - BRASS

6

MM8-0477

UNLOADER - PIN - STAINLESS

7

MM8-0501

SPRING BUTTON - BRASS

8

MM49-0119

SPRING - 2700 PSI

9

MM8-0415

POPPET - STAINLESS STEEL

10

MM25-0404

BACKUP RING 8 X 1MM

11

MM25-0319

O-RING 1.78 X 7.66MM

12

MM8-0502

PISTON GUIDE - M18-1.00P

13

MM25-0386

O-RING 15.54 X 2.62MM

14

MM25-0325

O-RING 14 X 1.78MM

15

MM25-0403

O-RING 8.73 X 1.78MM

16

MM25-0408

BACKUP RING

17

MM25-0253

O-RING 2.9 X 1.78MM

18

MM8-0413

PISTON

19

MM8-0503

VALVE SEAT - SSTAINLESS STEEL

20

MM25-0500

O-RING 8.4 X 1MM

21

MM70-0292

KIT - UNLOADER REPAIR Ref. 1-20

Выбрано товаров: 21