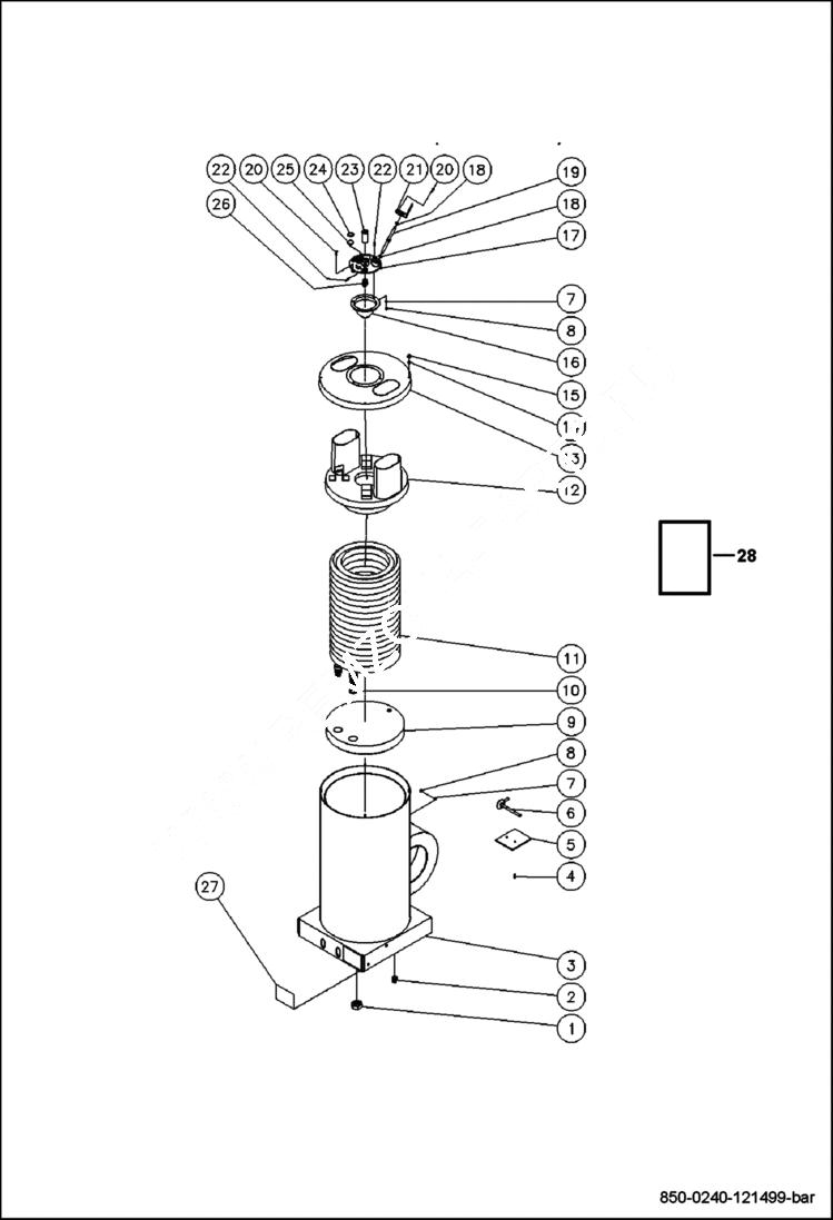
Запчасти Bobcat PRESSURE WASHER BOILER ASSEMBLY EQUIPMENT

Схема запчастей Bobcat PRESSURE WASHER - BOILER ASSEMBLY EQUIPMENT
FIT
1:1
100%

Артикул

Название

Примечание

Количество

1

MM30-0121

HEX JAM NUT - ZINC M22 X 1.5MM

2

MM24-0034

PLUG 3/8''NPT SQ HEAD - ZINC

3

MM20-0431A01

OUTERWRAP ASSY - PAINTED

4

MM27-8879

HHCS - ZI GR8.8 M4-0.7P X 10MM

5

MM20-0378A01

AIR DIVERTER PLATE - BLACK

6

MM20-0377A01

AIR DIVERTER STEM ASSY/BLACK

7

MM28-1009

EXTERNAL TOOTH LOCKWASHER

8

MM30-6001

HEX NUT - ZINC M5-0.8P

9

MM33-0250

INSULATION/BOTTOM

10

MM28-0521

WASHER-COPPER .89X1.09 X 16GA

11

MM66-0011

COIL ASSEMBLY - HEAT EXCHANGER

12

MM20-0372

INNER PAN ASSEMBLY

13

MM20-0371A01

OUTER PAN ASSY - BLACK

14

MM28-1028

WASHER-ZI M6 EXT. LOCK. STAR

15

MM30-6002

ACORN NUT - M6-1.00P

16

MM20-0373

CONE/SMALL

17

MM38-0046

PLATE/ELECTRODE

18

MM28-0523

WASHER/SHIM

19

MM32-0420

ELECTRODE STRAIGHT

20

MM27-9526

HHCS - GR8.8 M5-0.8P X 16MM

21

MM20-0446A01

CLIP/ELECTRODE - PAINTED

22

MM27-8878

HHCS - ZI GR8.8 M5-0.8P X 16MM

23

MM23-0292

NOZZLE HOLDER

24

MM33-0254

SNAP RING

25

MM33-0252

SIGHT GLASS

26

MM18-0308

NOZZLE FUEL OIL 1.75 60DEG B

27

DECAL NLA - Warning: Do Not Modify Plumbing (E/S) - Order Ref. 28

28

MM34-9012

DECAL SET - HSE Ref. 27

Выбрано товаров: 28