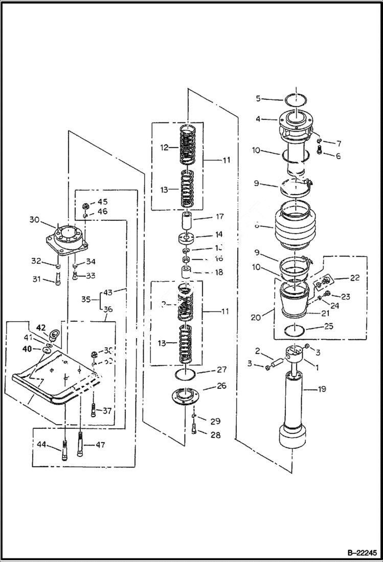
Запчасти Bobcat UPRIGHT RAMMER MAIN FRAME (Lower Section) MAIN FRAME

Схема запчастей Bobcat UPRIGHT RAMMER - MAIN FRAME (Lower Section) MAIN FRAME
FIT
1:1
100%

Артикул

Название

Примечание

Количество

1

IR59841213

PISTON

2

IR59841221

CRANK ROD PIN

3

IR59841239

NYLON PLUG

4

IR59872200

UPPER CYLINDER RX-654H

4

IR59188029

UPPER CYLINDER RX-754H

5

IR59841254

O-RING

6

IR59832030

BOLT

7

SPRING WASHER Was IR59831743 NLA - Was IR59831743 - A

8

IR58802208

BELLOWS RX-654H

8

IR54680731

BELLOWS RX-754H

9

IR59188037

BAND W/Nut - RX-654H

9

IR54680749

BAND W/Guide Rail & W/Nut - RX-754H

10

IR59841494

O-RING RX-654H

10

IR59188045

O-RING RX-754H

11

IR59188052

SPRING ASSY W/Ref 12 W/Ref 13 coil

12

IR59841320

COIL SPRING large

13

IR59841338

COIL SPRING small

14

IR59841346

PISTON GUIDE RX-654H

14

IR54680756

PISTON GUIDE RX-754H

15

IR59841353

SPRING WASHER

16

IR59841361

NUT

17

IR59841379

UPPER DAMPER

18

IR59188060

LOWER DAMPER

19

IR59841387

CYLINDER lower - RX-654H

19

IR54680764

CYLINDER lower - RX-754H

20

IR59841403

PROTECTOR ASSY W/Ref 21 W/Ref 22 W/Ref 23 W/Ref 24 W/Ref 25 pipe - RX-654H

20

IR54680772

PROTECTOR ASSY W/Ref 21 W/Ref 22 W/Ref 23 W/Ref 24 W/Ref 25 pipe - RX-754H

21

PIPE PROTECTOR NSS

22

IR58898263

OIL GAUGE

23

IR59831123

PLUG

24

IR59831131

PACKING

25

IR59841254

O-RING RX-654H

25

IR54680780

O-RING RX-754H

26

IR59841452

SPRING SEAT RX-654H

26

IR54680798

SPRING SEAT RX-754H

27

IR59841460

O-RING RX-654H

27

IR59838334

O-RING RX-754H

28

IR59843391

BOLT RX-754H

29

IR59831800

LOCKWASHER RX-754H

30

IR54680806

FOOT BLOCK RX-754H

31

IR59832287

BOLT RX-754H

32

IR59951632

SPRING WASHER RX-754H - Was IR59510065 - A

33

IR59836338

BOLT RX-654H

33

IR59188409

BOLT RX-754H

34

IR59831560

LOCKWASHER

35

IR54680814

ASSEMBLY W/Ref 43 foot plate & bolt - RX-654H

35

IR54680822

ASSEMBLY W/Ref 43 foot plate & bolt - RX-754H

36

IR59188078

FOOT PLATE ASSY W/Ref 37 W/Ref 38 W/Ref 39 W/Ref 40 W/Ref 41 RX-654H

36

IR54680830

FOOT PLATE ASSY W/Ref 37 W/Ref 38 W/Ref 39 W/Ref 40 W/Ref 41 RX-754H

37

IR59188086

FLUSH BOLT

38

IR59834721

NYLON NUT

39

IR59951632

SPRING WASHER Was IR59510065 - A

40

IR59188102

WASHER

41

IR59951632

SPRING WASHER Was IR59510065 - A

42

IR59188094

EYE NUT

43

IR54682554

BOLT ASSY W/Ref 45 W/Ref 46 W/Ref 47 flush - RX-654H

43

IR54686142

BOLT ASSY W/Ref 45 W/Ref 46 W/Ref 47 flush - RX-754H

44

IR59841551

FLUSH BOLT RX-654H

44

IR58836982

FLUSH BOLT RX-754H

45

IR59840454

NYLON NUT

46

IR59237388

SPRING WASHER

47

IR59841569

FLUSH BOLT RX-654H

Выбрано товаров: 62