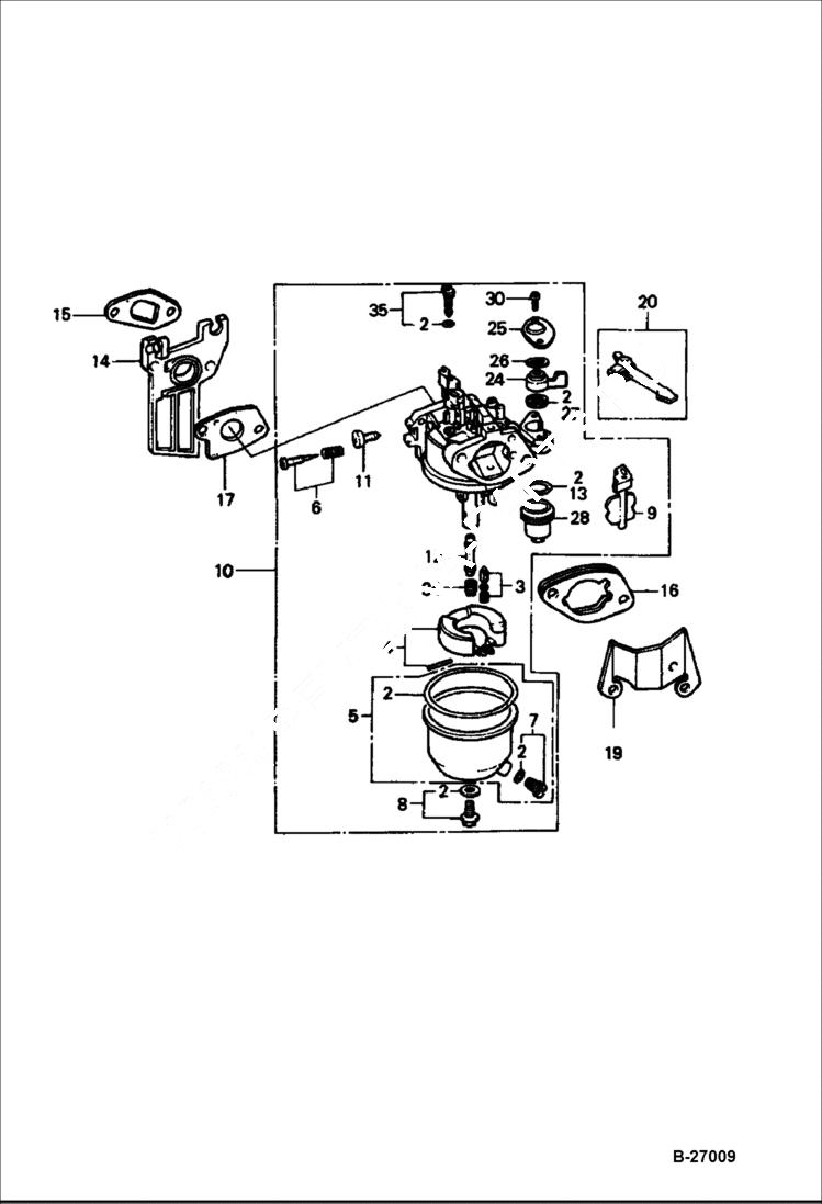
Запчасти Bobcat VIBRATORY PLATE COMPACTOR ENGINE (Carburetor) BC15 POWER UNIT

Схема запчастей Bobcat VIBRATORY PLATE COMPACTOR - ENGINE (Carburetor) BC15 POWER UNIT
FIT
1:1
100%

Артикул

Название

Примечание

Количество

2

IR54475108

GASKET SET

3

IR59244186

FLOAT VALVE SET

4

IR13221239

FLOAT SET

5

IR13221247

CHAMBER SET W/Ref. 7

6

IR59244210

SCREW SET

7

IR59244228

SCREW SET W/gasket

8

IR59244236

SCREW SET W/gasket

9

IR59244244

CHOKE SET

10

IR13221254

CARBURETOR Assy - Includes Ref. 3-6, 8, 9, 11-13, 24-28, 30, 34 & 35 - Was IR13221262 - A

10

IR13221254

CARBURETOR Ref. 3-6, 8, 9, 11-13, 24-28, 30, 34 & 35

11

IR54475140

STOP SCREW

12

IR13221288

MAIN NOZZLE

12

IR13221270

MAIN NOZZLE

13

IR54475181

PACKING

14

IR59244269

INSULATOR

15

IR54475207

PACKING

15

IR54475215

PACKING

16

IR59244285

SPACER

17

IR54475223

PACKING

17

IR54475249

PACKING

19

IR13221296

CHOKE CONTROL

19

IR54475264

BRACKET

20

IR59244301

CHOKE LEVER

24

IR54475280

COCK LEVER

25

IR54475330

PLATE

26

IR54475348

LEVER SPRING

27

IR54475314

PACKING

28

IR54475355

STRAINER CUP

30

IR54475363

PAN SCREW

34

IR13221304

MAIN JET W/gasket

34

IR59244319

MAIN JET W/gasket

35

IR59244327

PILOT JET SET W/Ref. 2

Выбрано товаров: 32