Запчасти Bobcat 6KW BALLAST BOX ASSEMBLY (CONT) MAIN FRAME

Схема запчастей Bobcat 6KW - BALLAST BOX ASSEMBLY (CONT) MAIN FRAME
FIT
1:1
100%

Артикул

Название

Примечание

Количество

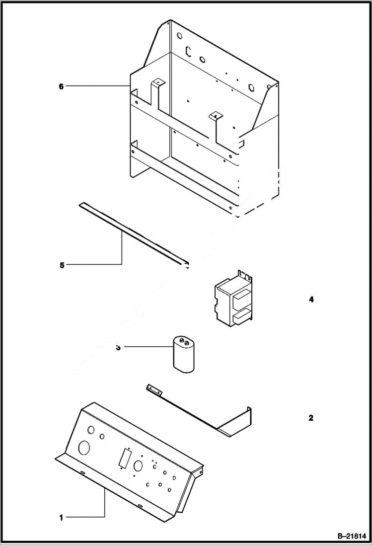
1

IR36923084

COVER Control Panel

2

IR36923076

CAPACITOR Capacitor

3

IR36888683

CAPACITOR

4

IR36883791

TRANSFORMER

5

IR36923050

BRACKET Ballast Box

6

IR36923068

BOX Ballast

Выбрано товаров: 6