Качественные детали и логистика
Оригинальные и аналоговые запчасти с доставкой по России, Казахстану и Беларуси
©2022 PartSell ООО "Система" ИНН 2463123282 ОГРН 1212400004838
Центральный офис: г. Красноярск, Академика Киренского, д.87, пом.4
Телефон: 8 (800) 777-65-74 Email: zakaz@partsell.ru
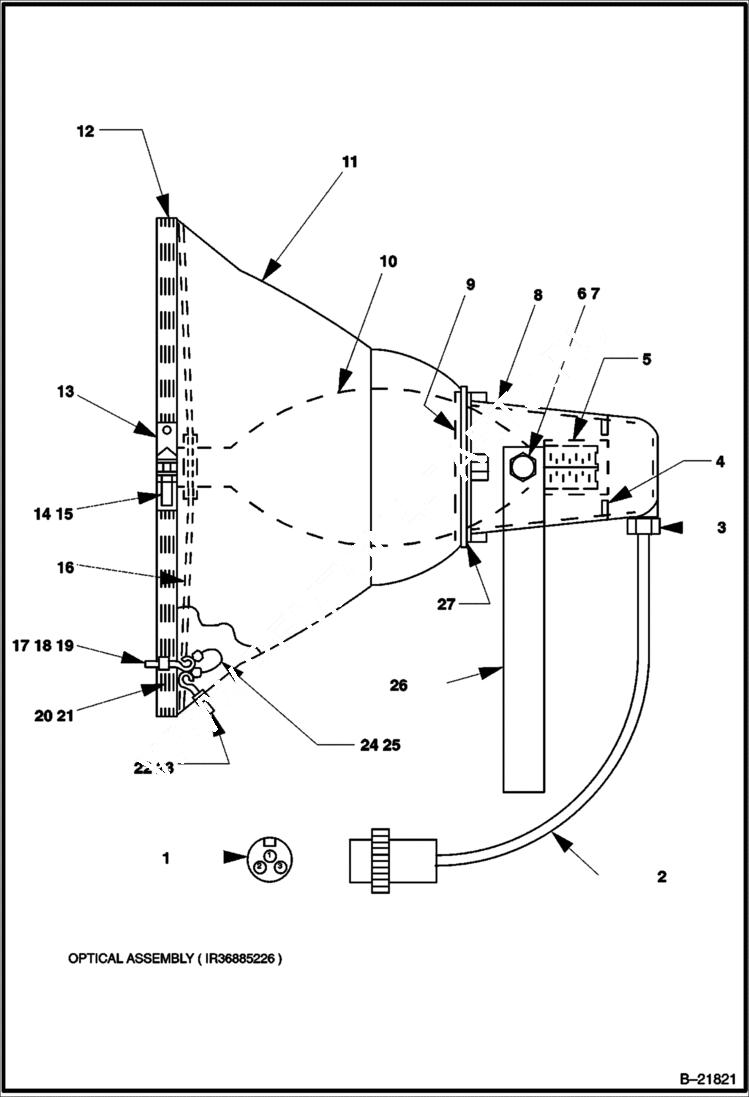
OPTICAL / SOCKET ASSEMBLY (CON IR S/N 336844 & Below
№
Артикул
Название
Примечание
Количество
1
IR54364864
HARNESS Face View of Male Plug
2
IR36885481
CORD With Plug
3
IR36885424
STRAIN RELIEF
4
IR36885358
SOCKET Was 36885416 - A
5
SOCKET
6
IR22515696
BOLT Was IR36885440 - A
7
IR36885465
WASHER
8
IR36885366
HOUSING
9
IR36885374
RING Re-Inforcement
10
IR36847747
LAMP 1000W MH
11
IR22515555
REFLECTOR Was IR36885275 - A
12
IR36885291
RING Retaining
13
IR36885432
LENS ''L'' Bracket
14
BOLT Furnished With Light
15
NUT Furnished With Light
16
IR36885473
SUPPORT Lamp
17
IR36885382
SLEEVE Insert
18
IR36885390
LOCKNUT
19
IR36885408
EYEBOLT
20
IR36885309
GASKET
21
IR36885317
LENS 18''
22
23
24
IR36885333
CABLE Support
25
IR36885341
CABLE CRIMPS
26
IR36885457
TRUNNION
27
IR22515589
REFLECTOR GASKET Was IR36885325 - A
Выбрано товаров: 0