Качественные детали и логистика
Оригинальные и аналоговые запчасти с доставкой по России, Казахстану и Беларуси
©2022 PartSell ООО "Система" ИНН 2463123282 ОГРН 1212400004838
Центральный офис: г. Красноярск, Академика Киренского, д.87, пом.4
Телефон: 8 (800) 777-65-74 Email: zakaz@partsell.ru
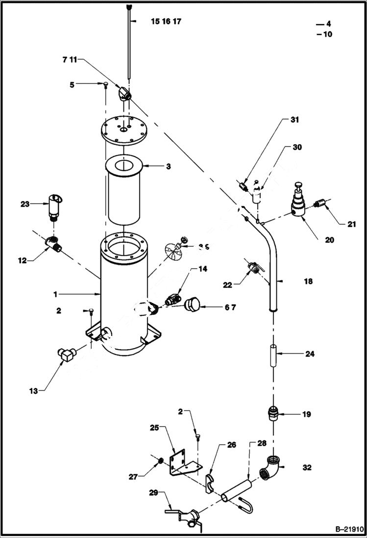
SEP TANK & SERVICE AIR
№
Артикул
Название
Примечание
Количество
1
IR54465851
TANK Separator
2
IR35279025
SCREW Tapping M08-1.25 X 20
3
IR36845303
ELEMENT Separator
4
ELEMENT
5
IR36877793
SCREW Hex Flange HD M12
6
IR35579630
PLUG 1.625
7
IR35279942
O-RING
8
IR36891083
INDICATOR
9
IR36891489
POINTER ASSY Ref 8 Incl. w/ Gauge Assy
10
POINTER ASSY
11
IR35279777
ELBOW 90_ 1 5/8-12
12
IR95944708
TEE Street NPT 1/2
13
IR95431292
ELBOW 90_ 1 7/8-12
14
IR35294727
ELBOW 45_
15
IR35329309
LENZ FITTING Tube Lenz
16
IR36781227
TUBE Scavenge
17
IR36840437
VALVE Check
18
IR36880672
SERVICE TUBE Service
19
IR95219770
ADAPTER 1.25
20
IR35322379
VALVE Blowdown
IR35379064
DIAPHRAM Repair Kit
21
IR36766772
MUFFLER Muffler
22
IR35324839
VALVE Ball
23
IR35325166
VALVE Safety (P185)
24
IR36921377
NOZZLE .395 Sonic Orifice
25
IR36889996
BRACKET Service Pipe
26
IR36785277
CLAMP Saddle 1 5/8
27
IR95923314
LOCKNUT Hex Lock 5/16-18
28
IR95916268
NIPPLE
29
IR36881076
VALVE Wye
30
IR36896892
REGULATOR Pressure Regulator - Was IR36854149 - A
IR35387919
31
IR36766756
ORIFICE Muffler
32
IR95953378
ELBOW 1 1/4 NPT
Выбрано товаров: 0