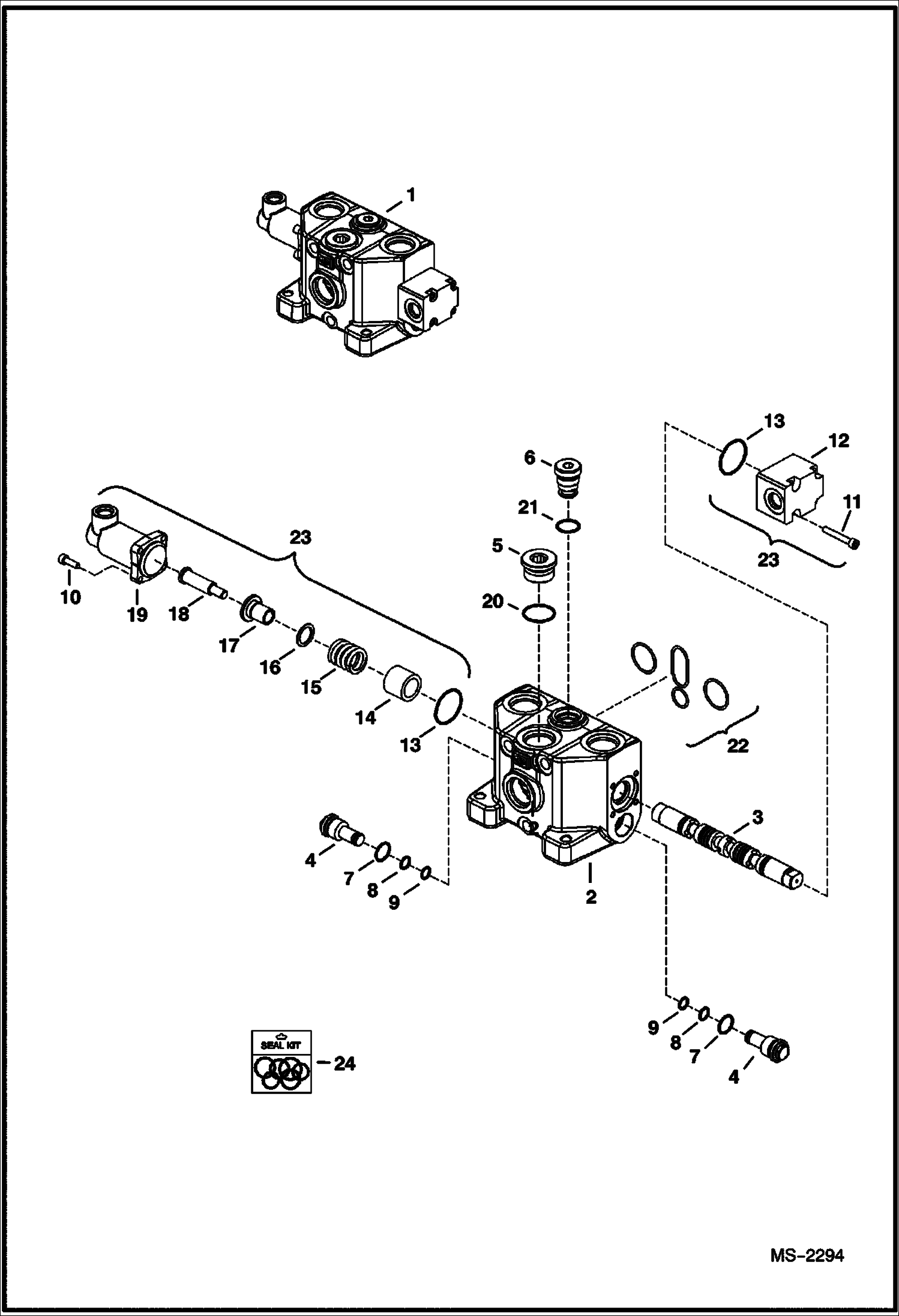
Запчасти Bobcat 5610 VALVE SECTION (Auxiliary) HYDRAULIC SYSTEM

Схема запчастей Bobcat 5610 - VALVE SECTION (Auxiliary) HYDRAULIC SYSTEM
FIT
1:1
100%

Артикул

Название

Примечание

Количество

1

6691183

VALVE auxiliary - Ref. 2-21

2

BODY NSS

3

SPOOL NSS

4

6686233

PLUG W/Ref. 7-9

5

6680058

PLUG W/Ref. 20

6

6686240

VALVE W/Ref. 21

7

O-RING NSS

8

O-RING NSS

9

BACKUP NSS

10

6686237

SCREW

11

6679501

SCREW

12

CAP NSS

13

O-RING NSS

14

BUSHING NSS

15

SPRING NSS

16

RING NSS

17

BUSHING NSS

18

6686235

SCREW

19

CAP NSS

20

O-RING NSS

21

O-RING NSS

22

SEAL KIT NSS - Order Ref. 24

23

6691196

CAP KIT Ref. 10-19

24

6691194

SEAL KIT valve section - Ref. 7-9, 13 & 20-22

Выбрано товаров: 24