Качественные детали и логистика
Оригинальные и аналоговые запчасти с доставкой по России, Казахстану и Беларуси
©2022 PartSell ООО "Система" ИНН 2463123282 ОГРН 1212400004838
Центральный офис: г. Красноярск, Академика Киренского, д.87, пом.4
Телефон: 8 (800) 777-65-74 Email: zakaz@partsell.ru
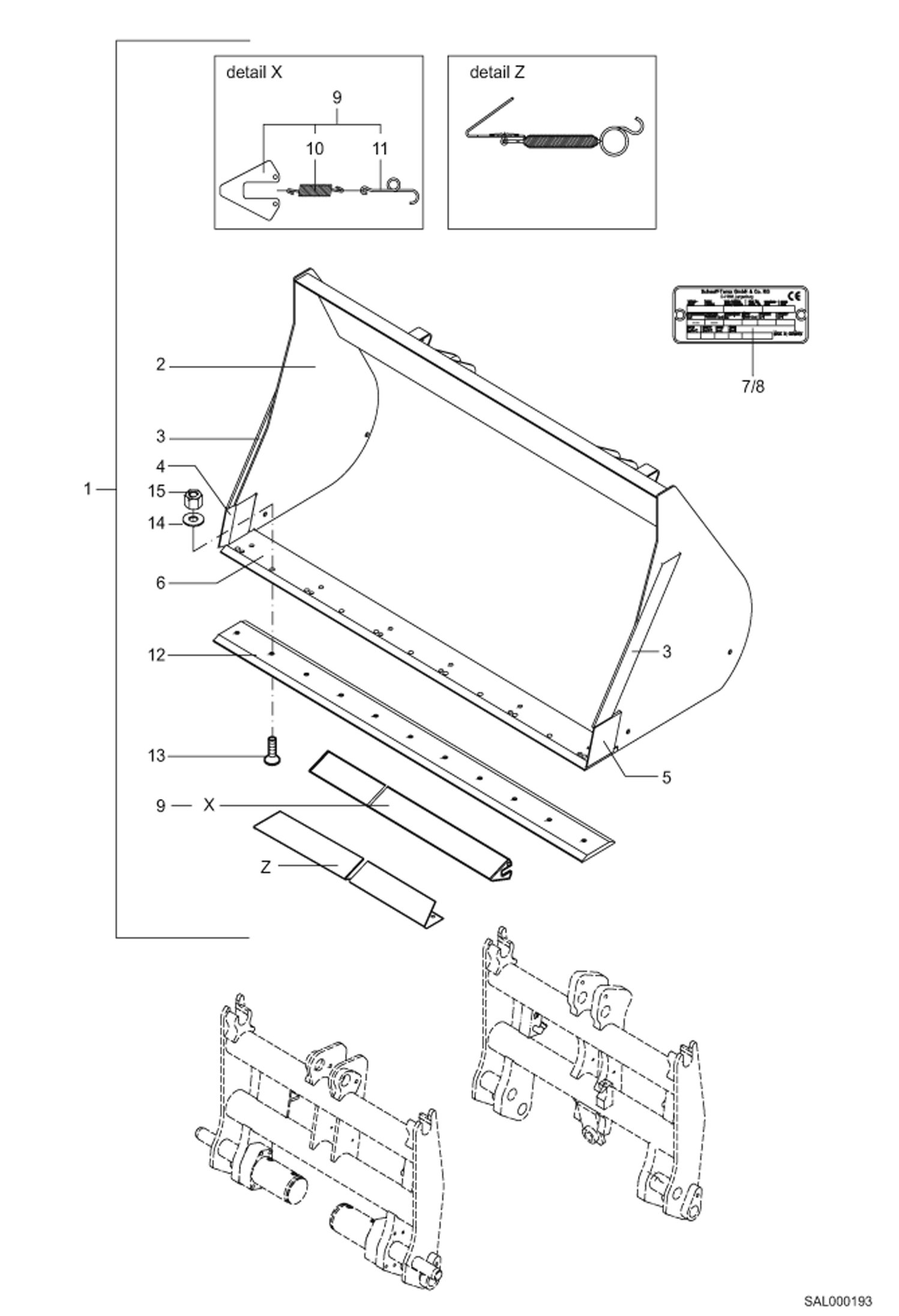
LIGHT MATERIAL BUCKET 1700MM0,80CBM
№
Артикул
Название
Примечание
Количество
1
6451207000
LIGHT MATERIAL BUCKET Includes Ref. 2 to 15
2
6451207001
LIGHT MATERIAL BUCKET Includes Ref. 3 to 6
3
6396201004
SIDE-STRIP
4
0451201023
CUTTING EDGE RIGHT
5
0451201024
CUTTING EDGE LEFT
6
6460701005
CUTTING EDGE
7
--
NAME PLATE
8
1940000739
RIVET
9
6322904020
TOOTH PROTECTION Includes Ref. 10 + 11
10
0271422004
SPRING
11
0273114008
HOOK
12
0460202102
BOLT-ON CUTTING EDGE
13
1062707236
BOLT
14
1290707025
WASHER
15
1212251015
NUT
Выбрано товаров: 0