Запчасти Bobcat AL350 PUMP HOUSING POWER UNIT

Схема запчастей Bobcat AL350 - PUMP HOUSING POWER UNIT
FIT
1:1
100%

Артикул

Название

Примечание

Количество

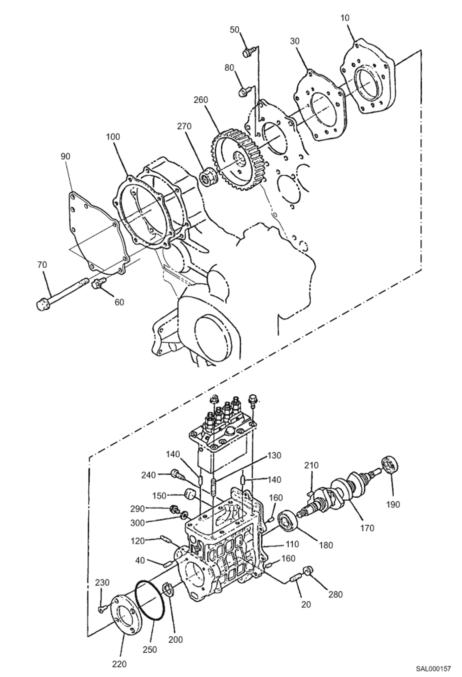
10

6689246

BASE, INJECTION PUMP

20

6680799

STUD

30

6680800

GASKET

40

21JM614

PIN

50

6680662

BOLT

60

6680801

BOLT

70

6680802

BOLT

80

6680803

BOLT

90

6680804

COVER

100

6680805

GASKET

110

6680806

HOUSING Includes Ref. 120 to 160

120

3974503

STUD

130

6680807

STUD

140

3974394

PIN

150

6680808

PLUG

160

6680809

PIN

170

6689309

CAMSHAFT, FUEL

180

6685950

BEARING, BALL RADIAL & THRUST

190

6680812

BEARING

200

5JM20

CIRCLIP, EXTERNAL

210

6680813

KEY

220

6689289

STOPPER, FUEL C/SHAFT

230

6680678

SCREW

240

6680815

SET SCREW

250

6680816

O-RING

260

6680817

GEAR

270

6680818

NUT

280

6969819

NUT, FLANGE

290

6680662

BOLT

300

3974095

MET-GASK copper - Was 6680792 - A

310

6689328

PUMP, INJECTION UNIT See Illustration STOP SOLENOID/ SAL000058 Includes Ref. 110 + 170 to 240

310

See Illustration INJECTION PUMP/ SAL000153 +

310

See Illustration GOVERNOR/ SAL000154 +

310

+ Includes Ref. 10 to 150 under ''Fork Lever (Governor)''

310

See Illustration FORK LEVER (GOVERNOR)/ SAL000158

310

+ Includes Ref. 10 to 110 under ''Governor Adjusting Bolt''

310

See Illustration GOVERNOR ADJUSTING BOLT/ SAL000159

310

+ Includes Ref. 10 to 30 under ''Fuel Pump Mechanical''

310

See Illustration FUEL PUMP (MECHANICAL)/ SAL000067

Выбрано товаров: 39