Качественные детали и логистика
Оригинальные и аналоговые запчасти с доставкой по России, Казахстану и Беларуси
©2022 PartSell ООО "Система" ИНН 2463123282 ОГРН 1212400004838
Центральный офис: г. Красноярск, Академика Киренского, д.87, пом.4
Телефон: 8 (800) 777-65-74 Email: zakaz@partsell.ru
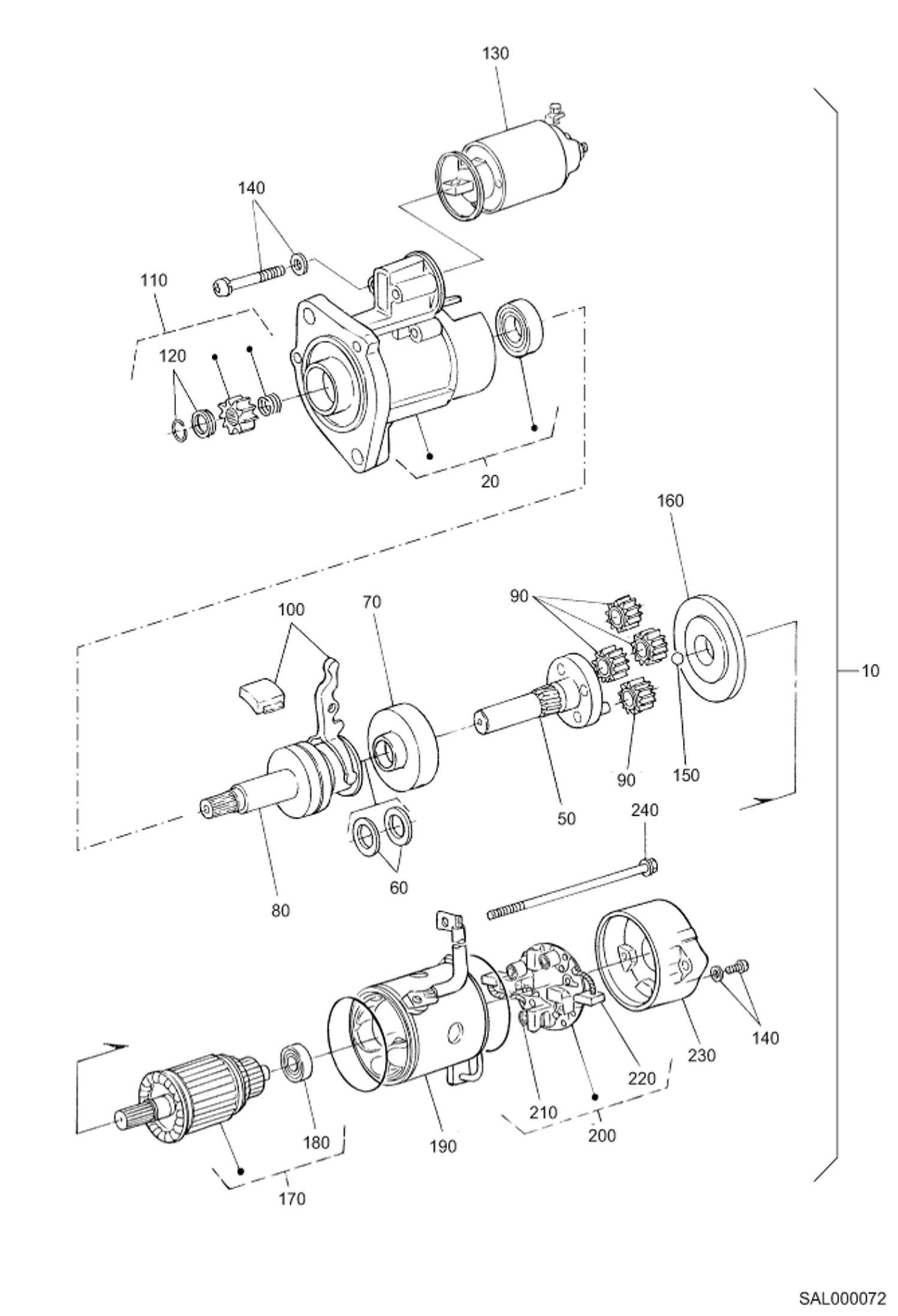
STARTER (COMPONENT PARTS)
№
Артикул
Название
Примечание
Количество
10
6689353
ASSY STARTER Includes Ref. 20 to 240
20
6689354
ASSY BRACKET, FRONT
40
6689355
ASSY SHAFT, CLUTCH Includes Ref. 50 to 120
50
6689360
ASSY SHAFT, GEAR
60
6689267
SET, WASHER
70
6689259
SET, INTERNAL GEAR
80
6689263
CLUTCH, OVER RUNNING
90
6689260
ASSY GEAR
100
6689356
ASSY LEVER, SET
110
6689361
SET PINION Includes Ref. 120
120
6689254
SET, STOPPER
130
6689248
ASSY SWITCH, MAGNETIC
140
6689366
SET, SCREW
150
6689369
BALL
160
6689268
SET, PACKING
170
6689357
ASSY ARMATURE Includes Ref. 180
180
6689258
BEARING
190
6689358
ASSY YOKE
200
6689364
ASSY HOLDER, BRUSH Includes Ref. 210 + 220
210
6689365
BRUSH, SPRING
220
6689363
BRUSH
230
6689359
ASSY BRACKET, REAR
240
6689362
SET, BOLT
Выбрано товаров: 0