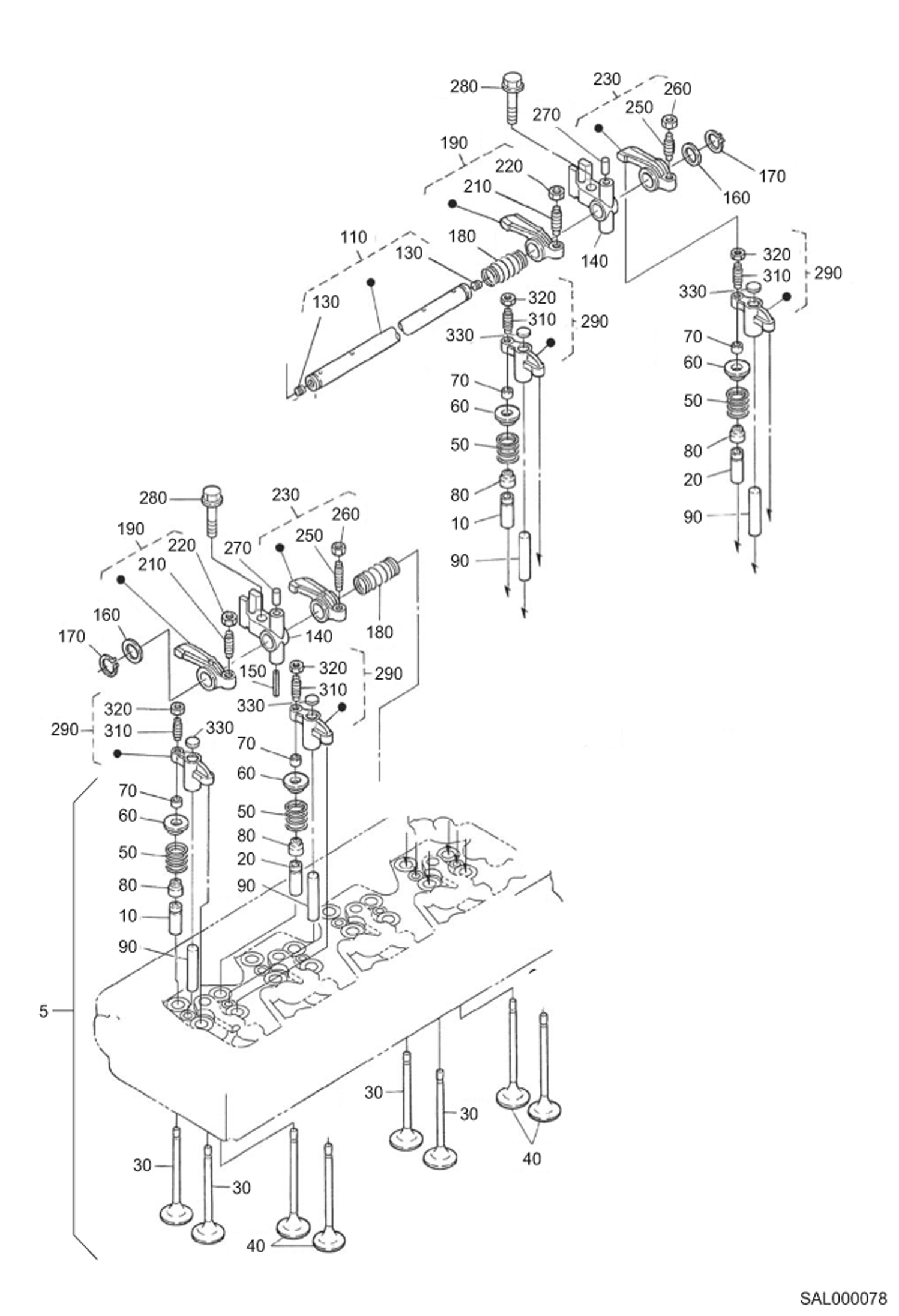
Запчасти Bobcat AL440 VALVE AND ROCKER ARM POWER UNIT

Схема запчастей Bobcat AL440 - VALVE AND ROCKER ARM POWER UNIT
FIT
1:1
100%

Артикул

Название

Примечание

Количество

5

6685927

HEAD Includes Ref 10 to 90

5

See Illustration CYLINDER HEAD/ SAL000049 + Ref. 70 to 100 under ''Cylinder head''

5

See Illustration GEAR CASE/ SAL000050 + Ref. 90 under ''Gear Case''

10

6680859

GUIDE inlet valve - Was 6685957 - A

20

6685958

GUIDE exhaust valve

30

6680861

VALVE intake

40

6680862

VALVE exhaust

50

6680863

VALVE SPRING

60

6685959

RETAINER

70

6680865

COLLET SET

80

6672436

SEAL

90

6680866

SHAFT

110

6680868

SHAFT Includes Ref. 130

130

25GM8010

SCREW

140

6680869

BRACKET rocker arm

150

6667461

PIN

160

6680870

WASHER

170

6680871

SNAP RING

180

6680872

SPRING

190

6680873

ROCKER ARM Includes Ref. 210 + 220

210

3974920

SCREW

220

6680874

NUT

230

6680875

ROCKER ARM Includes Ref. 250to 260

250

3974920

SCREW

260

6680874

NUT

270

6680877

PIN

280

6680878

BOLT

290

6698524

ARM, VALVE BRIDGE Includes Ref. 310-330 - Was 6680879 - A

310

6680880

SCREW

320

6657507

NUT

330

7000665

PAD, WEAR Was 6680882 - A

Выбрано товаров: 31