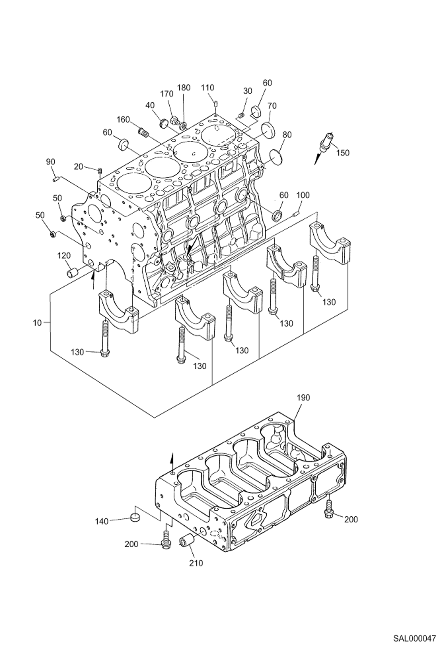
Запчасти Bobcat AL440 CRANKCASE POWER UNIT

Схема запчастей Bobcat AL440 - CRANKCASE POWER UNIT
FIT
1:1
100%

Артикул

Название

Примечание

Количество

10

7008615

BLOCK, ENG Includes Ref. 20-130 - Was 6689232 - A

20

6652574

PLUG

30

6680636

PLUG

40

6672354

PLUG

50

6680637

PLUG

60

3974389

CAP, SEALING Was 6680638 - A

70

6680639

PLUG

80

6680640

PLUG

90

21JM820

PIN, STRAIGHT

100

6685918

PIN

110

3974037

PIN Was 6680643 - A

120

7017198

PIN, STRAIGHT Was 6680644 - A

130

6680645

BOLT

140

3974389

CAP, SEALING Was 6680638 - A

150

6689299

PIPE, OIL

160

6680646

ADAPTER Was 6685920 - A

170

6652750

PLUG Was 6969968 - A

180

6652751

GASKET

190

7008616

BLOCK, ENG LOWER Was 6689233 - A

200

6680654

BOLT

210

7017199

PIN, STRAIGHT Was 6680655 - A

Выбрано товаров: 21