Запчасти Bobcat AL440 CYLINDER HEAD POWER UNIT

Схема запчастей Bobcat AL440 - CYLINDER HEAD POWER UNIT
FIT
1:1
100%

Артикул

Название

Примечание

Количество

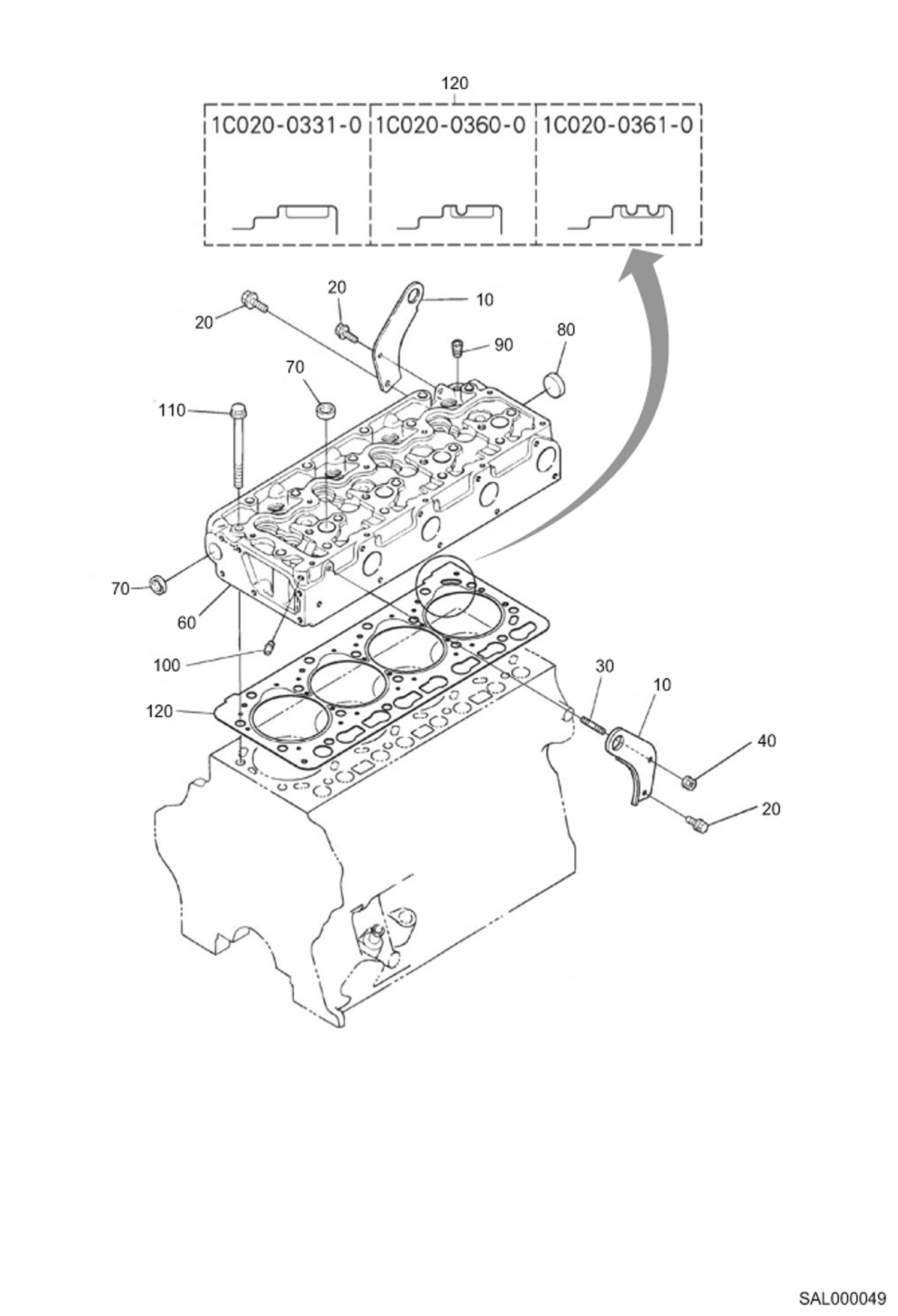
10

BRACKET NLA - part is not serviced - Was 6598133 - D

20

6680662

BOLT

30

6652670

STUD

40

6969819

NUT, FLANGE

60

6685927

HEAD Includes: Ref. 70 to 90

60

See Illustration VALVE AND ROCKER ARM/ SAL000078 + Ref. 10 to 90 under ''Valve and rocker arm''

60

See Illustration NOZZLE HOLDER AND GLOW PLUG/ SAL000061 + Ref . 90 under ''Nozzle holder and glow plug''

70

6680665

PLUG

80

6680666

PLUG

90

6652574

PLUG

100

6657465

PLUG

110

6680668

BOLT

120

6680669

GASKET .800MM

120

6680670

GASKET .90MM

120

6680671

GASKET .95MM

Выбрано товаров: 15