Качественные детали и логистика
Оригинальные и аналоговые запчасти с доставкой по России, Казахстану и Беларуси
©2022 PartSell ООО "Система" ИНН 2463123282 ОГРН 1212400004838
Центральный офис: г. Красноярск, Академика Киренского, д.87, пом.4
Телефон: 8 (800) 777-65-74 Email: zakaz@partsell.ru
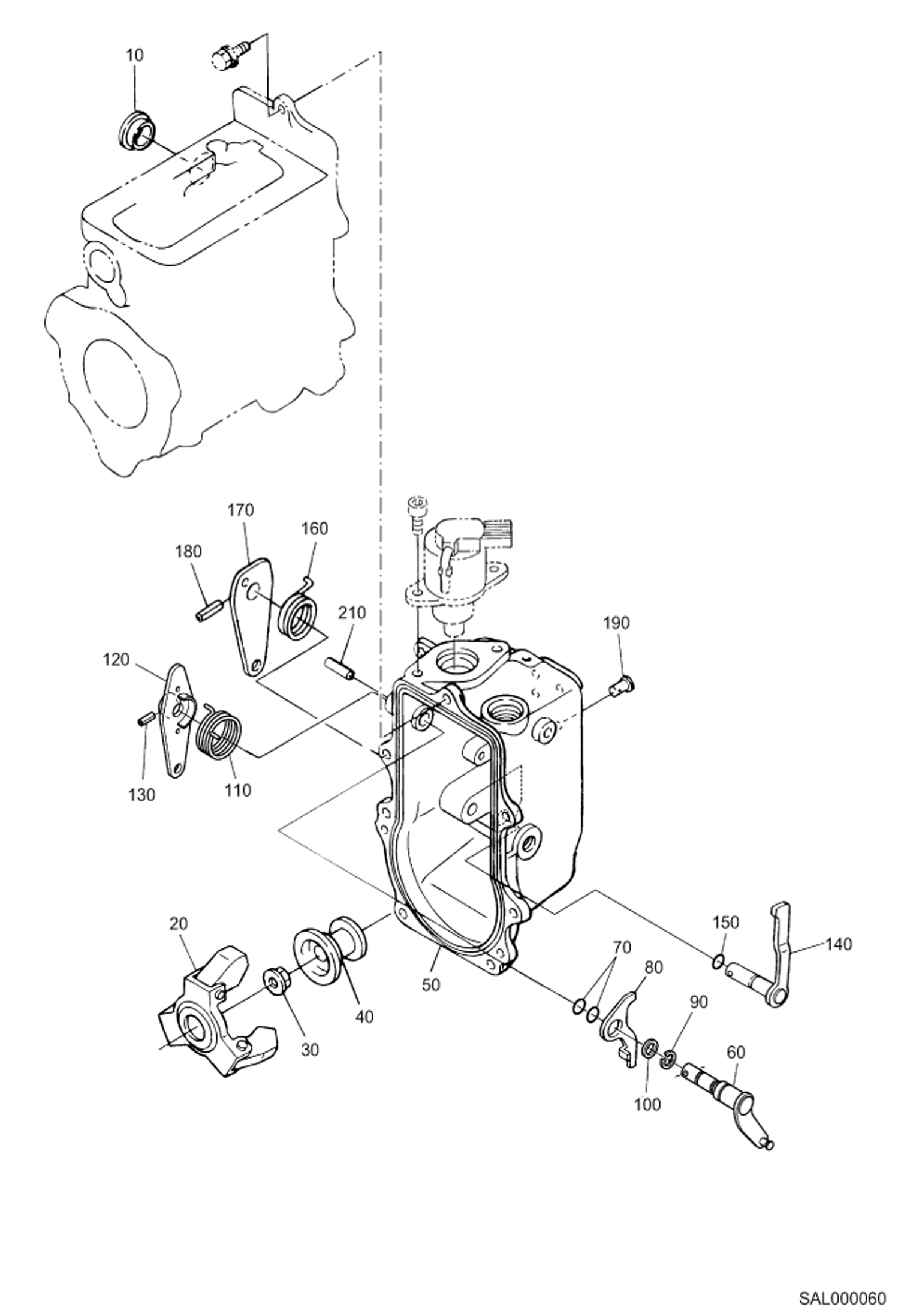
GOVERNOR
№
Артикул
Название
Примечание
Количество
10
6680757
COVER
20
6689327
ASSY WEIGHT, GOVERNOR
30
6680759
NUT
40
6689294
SLEEVE, GOVERNOR
50
6685937
HOUSING
60
6680763
LEVER
70
6683023
O-RING
80
6680764
90
6680765
SNAP RING
100
6680766
WASHER
110
6693488
SPRING Was 6685938 - A
120
6685939
130
6680773
PIN
140
6680770
150
160
6680771
SPRING
170
6680772
180
190
6652592
PIN start spring - Was 6680774 - D
210
6680775
Выбрано товаров: 0