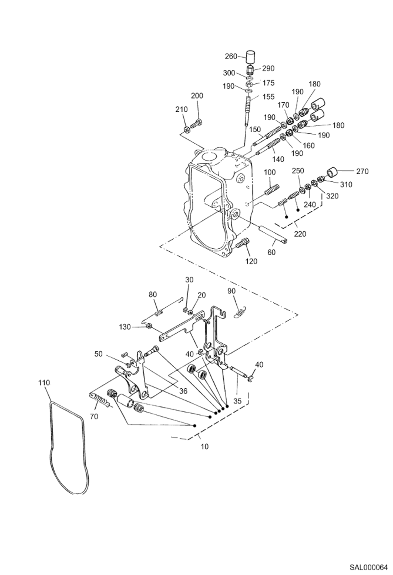
Запчасти Bobcat AL440 FORK LEVER (GOVERNOR) POWER UNIT

Схема запчастей Bobcat AL440 - FORK LEVER (GOVERNOR) POWER UNIT
FIT
1:1
100%

Артикул

Название

Примечание

Количество

10

6689314

LEVER ASSY, FORK Includes Ref. 20 to 50

20

6680820

WASHER

30

6680821

SNAP RING

35

6689313

SHAFT, FORK LEVER

36

6689312

SPRING

40

6680822

SNAP RING

50

6680823

SNAP RING

60

6689318

SHAFT, FORK LEVER

70

6689315

SPRING, GOVERNOR

80

6689316

SPRING, START

90

6680827

SPRING

100

6680828

STUD

110

6680829

GASKET

120

6680830

BOLT

130

6685952

NUT

140

6680832

SCREW

150

6680833

SCREW

155

6686985

BOLT, ADJUSTING

160

6680272

NUT

170

6680272

NUT

175

6657459

NUT Was 6680499 - A

180

6657470

NUT Was 6969901 - A

190

3974972

GASKET

200

6652712

STOPPER Was 6680834 - A

210

6969802

NUT

220

6689311

ASSY BOLT, ADJUSTMENT

240

6680836

NUT

250

3974095

MET-GASK copper - Was 6680792 - A

260

6672384

CAP, SECURITY

270

6670427

CAP, SECURITY

290

6657470

NUT Was 6969901 - A

300

3974972

GASKET

310

6670426

NUT

320

3974095

MET-GASK copper - Was 6680792 - A

Выбрано товаров: 34