Запчасти Bobcat WL350 LIGHT MATERIAL BUCKET 1950MM 1,20CBM + 1,35CBM ACCESSORIES & OPTIONS

Схема запчастей Bobcat WL350 - LIGHT MATERIAL BUCKET 1950MM 1,20CBM + 1,35CBM ACCESSORIES & OPTIONS
FIT
1:1
100%

Артикул

Название

Примечание

Количество

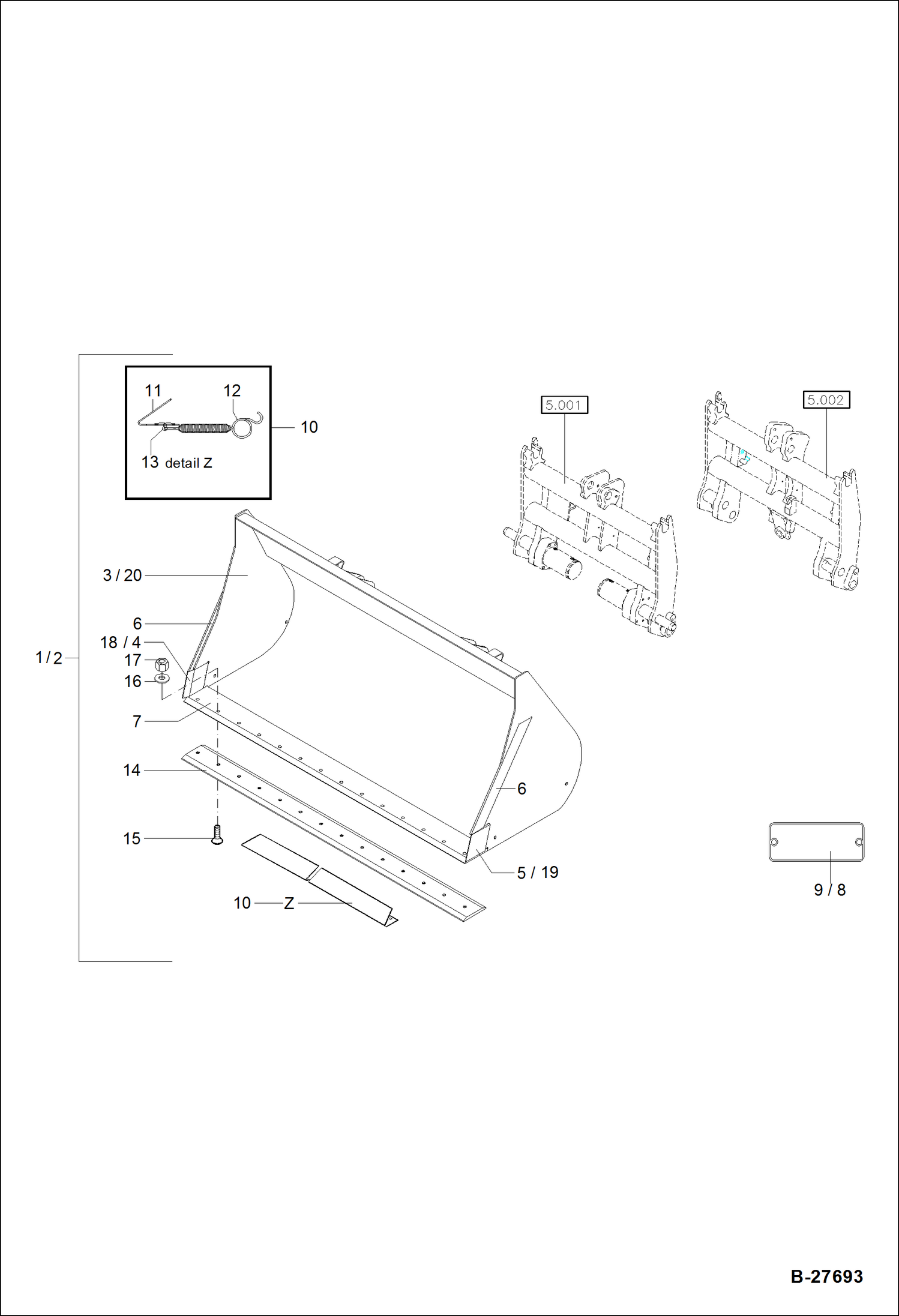
1

6452208000

LIGHT MATERIAL BUCKET CPL: 1950MM 1,20CBM - Ref. 3-17

2

6453207000

LIGHT MATERIAL BUCKET CPL: 1950MM 1,35CBM - Ref. 6-20

3

6452208001

LIGHT MATERIAL BUCKET 1950MM 1,20CBM - W/Ref. 4-7

4

0397201023

CUTTING EDGE RIGHT

5

0397201024

CUTTING EDGE LEFT

6

6397201004

SIDE-STRIP

7

0453202003

CUTTING EDGE

8

PLATE, NAME NLA

9

1940000739

RIVET

10

6453201030

TOOTH PROTECTION CPL. W/Ref. 10-13

11

PROTECTOR, TOOTH NLA - Order Ref. 10

12

5249001010

SPRING

13

1395707827

COTTER PIN Was 5249001011 - A

14

0453202002

BOLT-ON CUTTING EDGE

15

1062707236

BOLT M 14X50

16

1290707025

WASHER 15

17

1212251015

NUT M 14

18

0453201023

EDGE, CUTTING RIGHT

19

0453201024

EDGE, CUTTING LEFT

20

6453207001

LIGHT MATERIAL BUCKET 1950MM 1,35CBM - W/Ref. 6, 7, 18 & 19

Выбрано товаров: 0