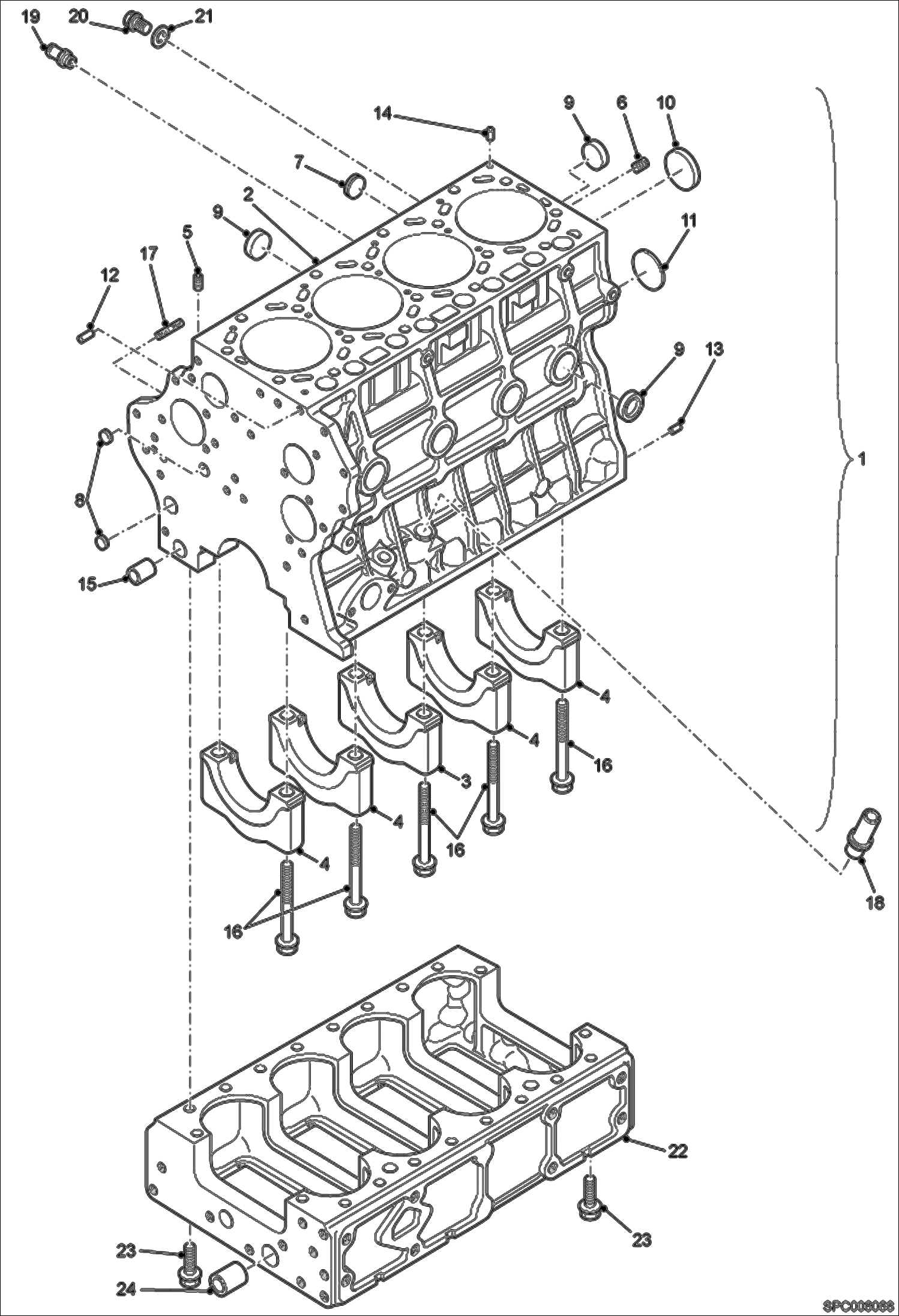
Запчасти Bobcat T2250 CRANKCASE POWER UNIT

Схема запчастей Bobcat T2250 - CRANKCASE POWER UNIT
FIT
1:1
100%

Артикул

Название

Примечание

Количество

1

6921065

BLOCK, ENG. W/Ref. 2-17

2

CRANKCASE NAP - Order Ref. 1

3

CAP, BEARING NAP - Order Ref. 1

4

CAP, BEARING NAP - Order Ref. 1

5

6652574

PLUG

6

6680636

PLUG

7

6672354

PLUG

8

3974056

CAP Was 6680637 - B

9

3974389

CAP, SEALING Was 6680638 - B

10

3974390

PLUG Was 6680639 - B

11

6680640

PLUG

12

21JM814

PIN

13

6685918

PIN

14

6680643

PIN

15

7017198

PIN, STRAIGHT Was 6680644 - A

16

6680645

BOLT

17

6685919

STUD

18

6689299

PIPE, OIL

19

6680646

ADAPTER Was 6685920 - B

20

6652750

PLUG Was 6969968 - B

21

6652751

GASKET

22

6921063

CRANCKCASE

23

6680654

BOLT

24

7017199

PIN, STRAIGHT Was 6680655 - A

Выбрано товаров: 24