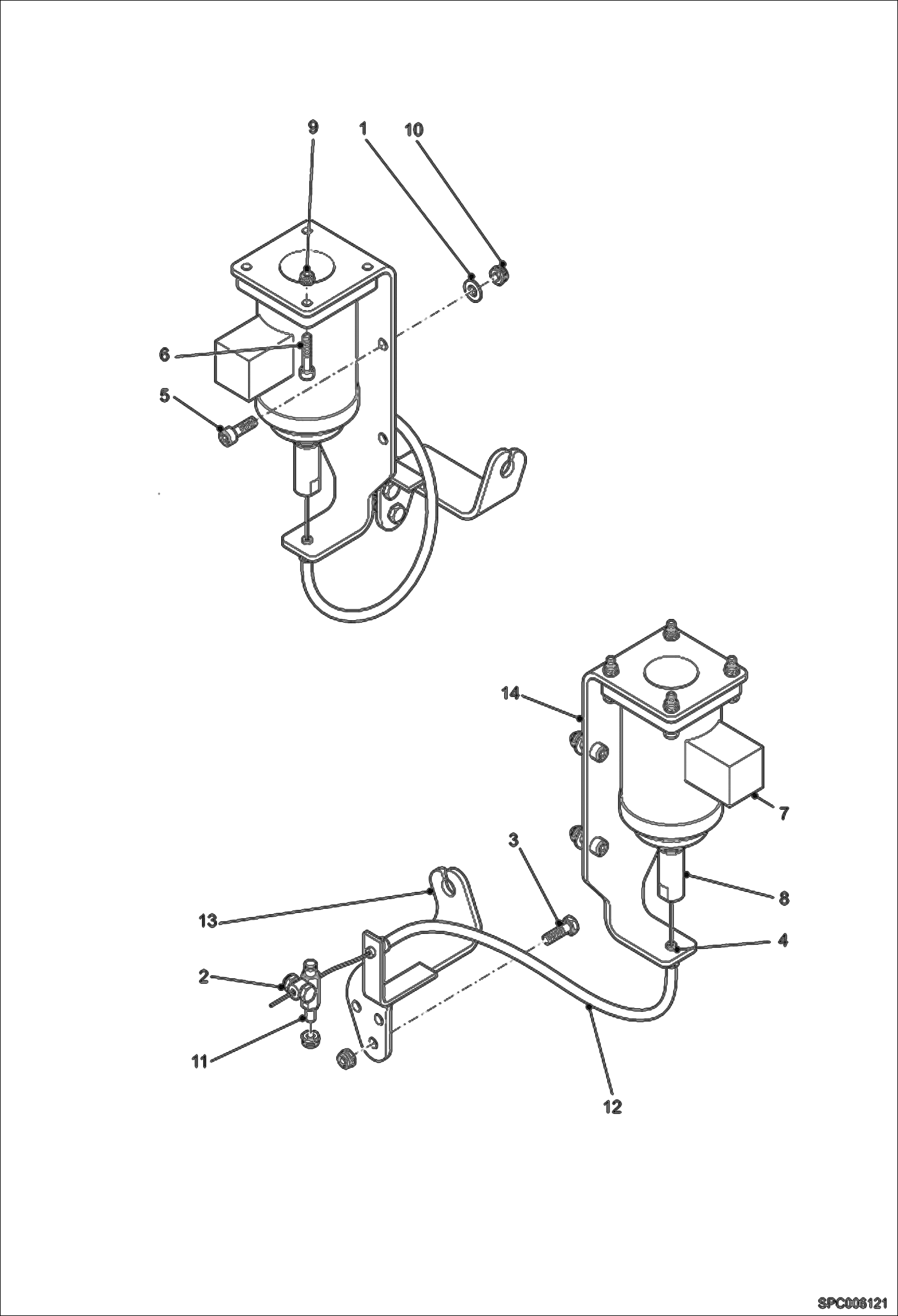
Запчасти Bobcat T35120SL REMOTE THROTTLE CONTROL POWER UNIT

Схема запчастей Bobcat T35120SL - REMOTE THROTTLE CONTROL POWER UNIT
FIT
1:1
100%

Артикул

Название

Примечание

Количество

1

000350-01U

WASHER

2

7231142

STOP, CABLE Was 000368-80M - A

3

01591.7

Screw

4

7231579

STOP Was 009368-06S - A

5

10167.5

Screw

6

6GM525

SCREW Was 33786.5 - A

7

7231582

MAGNET Was 80266.0 - A

8

7231140

CABLE Was 80697.6 - A

9

100345-05V

NUT

10

100345-06W

NUT

11

7231141

ARM Was 6913057 - A

12

6913276

Cable

13

6913278

Support

14

6913531

Acceleration Plate

Выбрано товаров: 14