Запчасти Bobcat T40140 TELESCOPE CYLINDER (6927316) HYDRAULIC SYSTEM

Схема запчастей Bobcat T40140 - TELESCOPE CYLINDER (6927316) HYDRAULIC SYSTEM
FIT
1:1
100%

Артикул

Название

Примечание

Количество

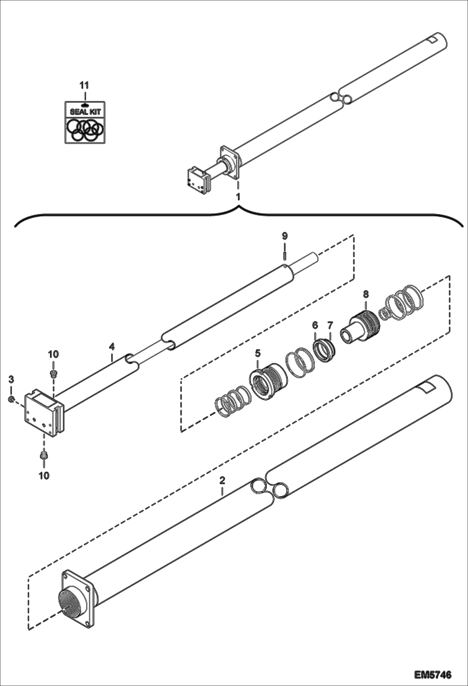
1

7215525

CYLINDER, EXTENSION W/Ref. 2-10 - Order kit 6925369 when replacing the old cylinder with new model Was 6927316 - A

2

7030223

KIT, CASING Was 97018.6 - B

3

97440.2

Plug

4

7020222

FITTING, HYD Was 6927623 - A

5

7030225

HEAD, CYLINDER Was 97019.4 - A

6

97016.0

Stop

7

97015.2

Ring

8

7030224

PISTON Was 97014.5 - A

9

97008.7

Screw

10

97013.7

Plug

11

7030226

KIT, SEAL Was 97446.9 - B

Выбрано товаров: 11