Запчасти Bobcat T40140 TELESCOPE CYLINDER (6927315) HYDRAULIC SYSTEM

Схема запчастей Bobcat T40140 - TELESCOPE CYLINDER (6927315) HYDRAULIC SYSTEM
FIT
1:1
100%

Артикул

Название

Примечание

Количество

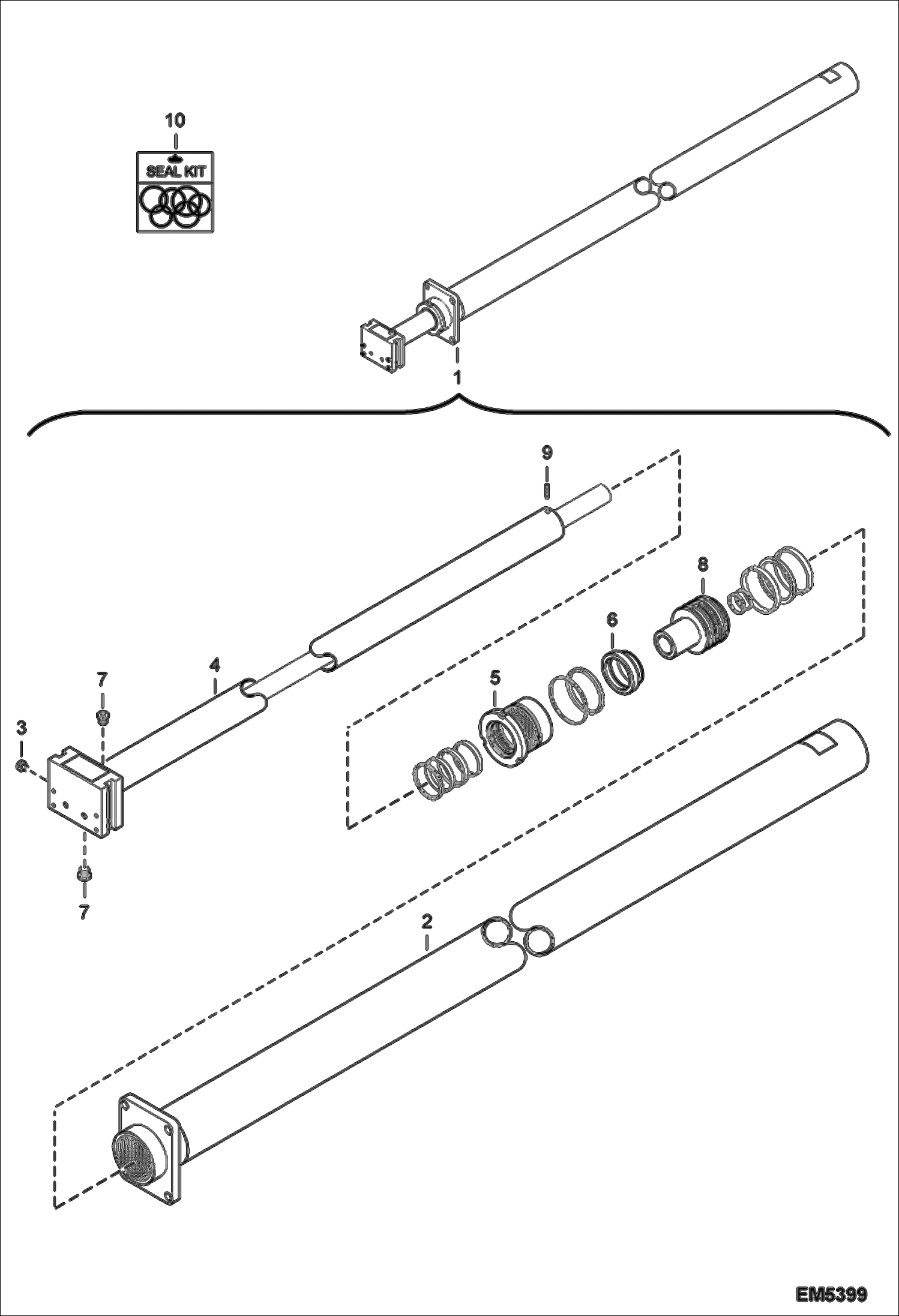
1

7212293

CYLINDER, EXTENSION W/Ref. 2-9 - Order kit 6925370 when replacing the old cylinder with the new model Was 6927315 - A

2

7030228

KIT, CASING Was 97011.1 - B

3

97440.2

Plug

4

7030227

KIT, ROD Was 6927624 - A

5

7030230

HEAD, CYLINDER Was 97012.9 - A

6

97010.3

Stop

7

97013.7

Plug

8

7030229

PISTON Was 97007.9 - A

9

97008.7

Screw

10

7030231

KIT, SEAL Was 93602.1 - B

Выбрано товаров: 10