Запчасти Bobcat T40170 STEERING HOSES & FITTINGS (W/Damper) HYDRAULIC SYSTEM

Схема запчастей Bobcat T40170 - STEERING HOSES & FITTINGS (W/Damper) HYDRAULIC SYSTEM
FIT
1:1
100%

Артикул

Название

Примечание

Количество

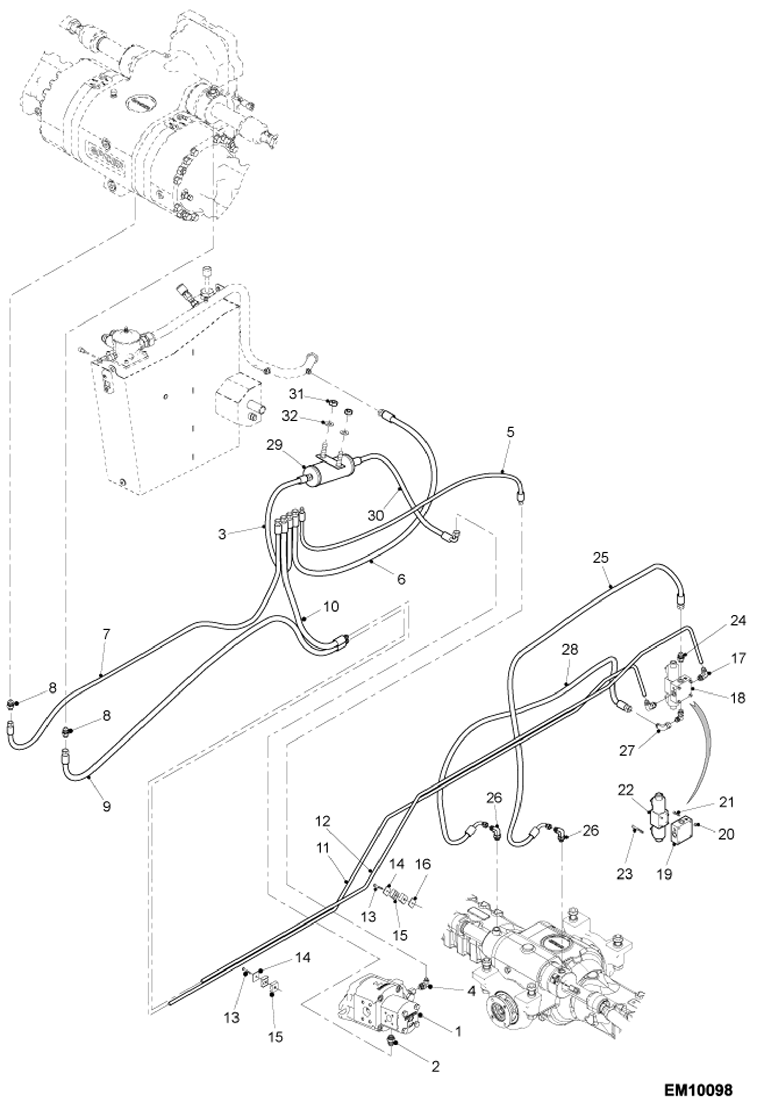
1

6909447

PUMP, HYD ASSY

2

100375-38S

UNION

3

79147.5

Hose

4

008372-01B

ELBOW PIECE

5

79148.3

Hose

6

79147.5

Hose

7

96763.8

Hose

8

100375-56M

UNION

9

6916603

Hose

10

88723.2

Hose

11

90237.9

Hydraulic pipe

12

90238.7

Hydraulic pipe

13

100338-23F

SCREW

14

100212-53R

COVER PLATE

15

6935678

CLAMP, DOUBLE Was 100369-18T - B

16

100281-55T

Plate

17

010370-94B

ELBOW PIECE

18

98347.8

Steering block W/Ref. 19 & 22

19

98348.6

Support

20

100345-06W

NUT

21

01626.1

Screw

22

98349.4

Steering selector valve W/Ref. 22-23

23

01626.1

Screw

24

100375-38S

UNION

25

72281.9

Hose

26

7228465

FITTING, HYD ELBOW Was 100370-06P - A

27

008372-01B

ELBOW PIECE

28

72281.9

Hose

29

6933831

MUFFLER ASSY W/Ref. 31 Was 6914316 - A

30

74467.2

Hose

31

01681.6

Nut Was 01597.4 - B

32

01697.2

Washer

Выбрано товаров: 32