Запчасти Bobcat TL360 QUICK-TACH CYLINDER ACCESSORIES & OPTIONS

Схема запчастей Bobcat TL360 - QUICK-TACH CYLINDER ACCESSORIES & OPTIONS
FIT
1:1
100%

Артикул

Название

Примечание

Количество

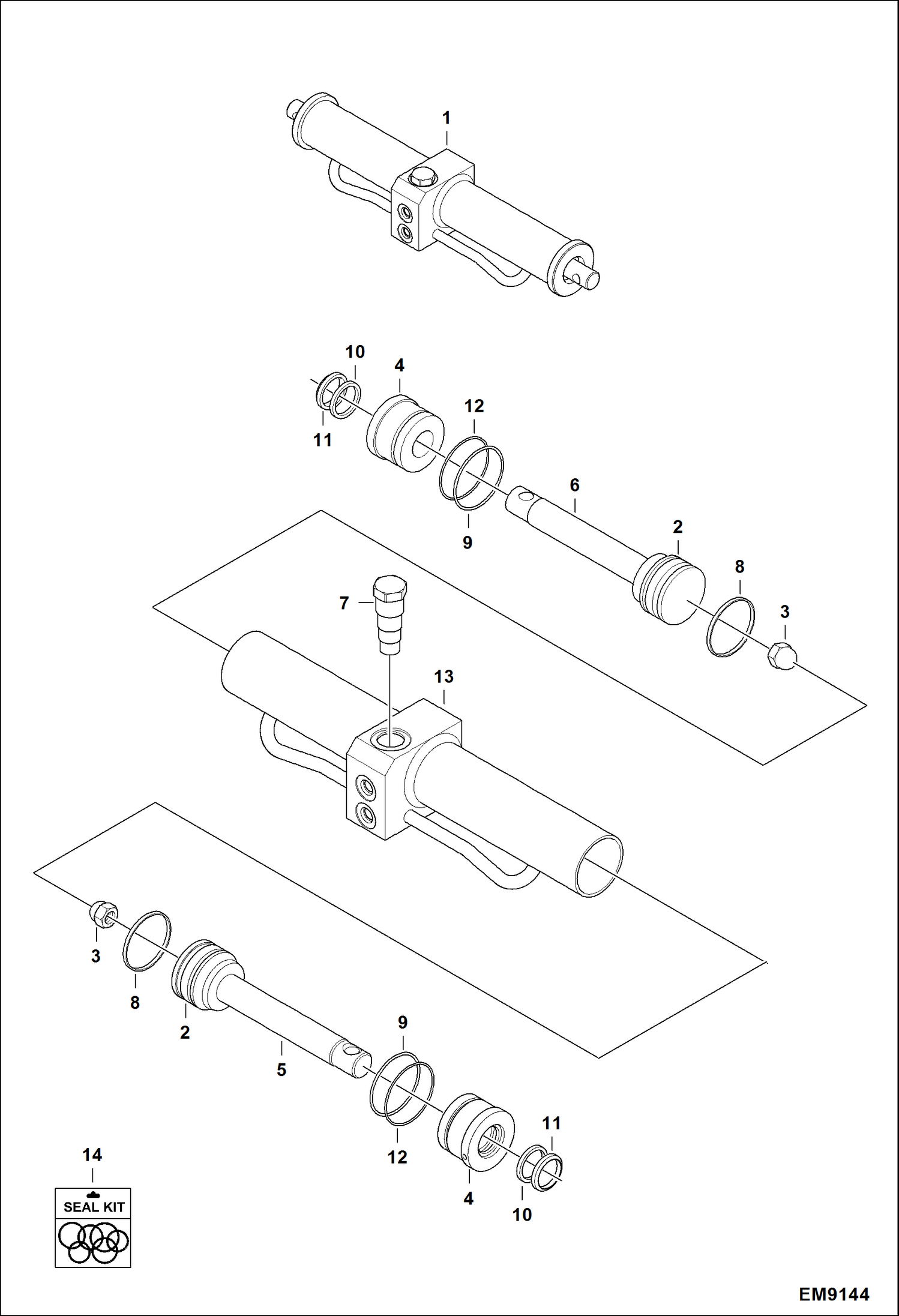
1

7181572

CYLINDER Ref. 2-14

2

7024108

PISTON

3

7024147

NUT, NYLSTOP

4

7024109

HEAD

5

7024149

ROD

6

7024150

ROD

7

7024152

VALVE, CHECK

8

O-RING NLA - Order Ref. 14

9

O-RING NLA - Order Ref. 14

10

RING, SEAL NLA - Order Ref. 14

11

RING, SEAL NLA - Order Ref. 14

12

RING NLA - Order Ref. 14

13

7024148

SHAFT

14

7024151

KIT, SEAL Ref. 8-12

Выбрано товаров: 14