Качественные детали и логистика
Оригинальные и аналоговые запчасти с доставкой по России, Казахстану и Беларуси
©2022 PartSell ООО "Система" ИНН 2463123282 ОГРН 1212400004838
Центральный офис: г. Красноярск, Академика Киренского, д.87, пом.4
Телефон: 8 (800) 777-65-74 Email: zakaz@partsell.ru
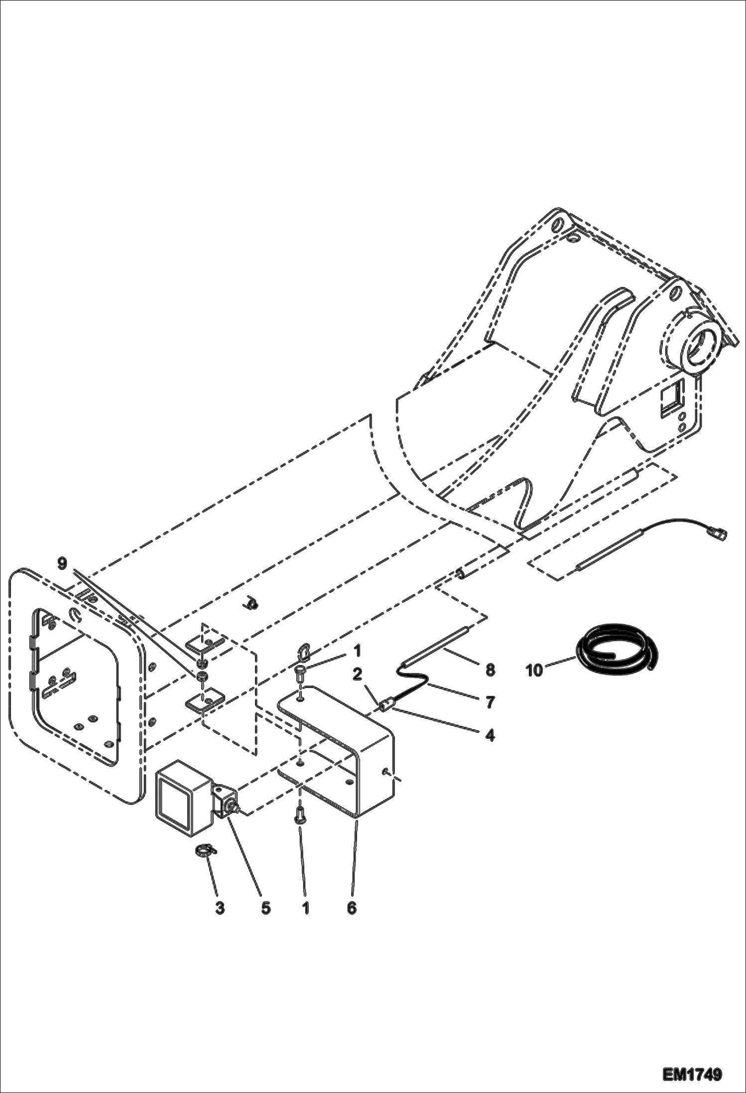
WORKING LIGHT
№
Артикул
Название
Примечание
Количество
1
01605-5
SCREW
2
12940-3
CLIP
3
14507-8
COLLAR
4
79906-4
CONNECTION Was 56085-4 - A
5
79908-0
HEAD LIGHT
6
6933945
SUPPORT WORK LIGHT Was 79913-0 - B
7
82069-6
HARNESS
8
SLEEVE, PROTECTION NAP - 3000 mm (118'') long - Order Ref. 10
9
100345-09A
NUT
10
82088-6
PROTECTOR /FT bulk - sold per foot
Выбрано товаров: 0