Качественные детали и логистика
Оригинальные и аналоговые запчасти с доставкой по России, Казахстану и Беларуси
©2022 PartSell ООО "Система" ИНН 2463123282 ОГРН 1212400004838
Центральный офис: г. Красноярск, Академика Киренского, д.87, пом.4
Телефон: 8 (800) 777-65-74 Email: zakaz@partsell.ru
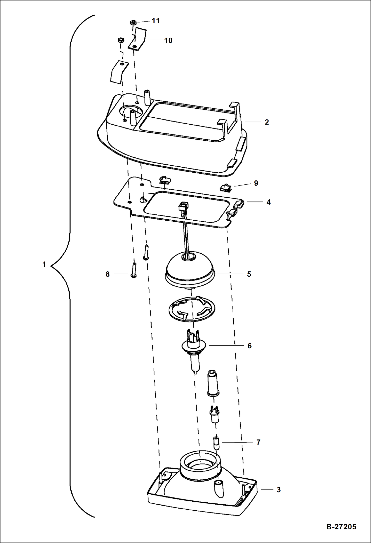
HEADLIGHTS
№
Артикул
Название
Примечание
Количество
1
102708901CC
LIGHT, FRONT ASSY drivers side - W/Ref. 2-11
102708902CC
LIGHT, FRONT ASSY passenger side - W/Ref. 2-11
2
1016880CC
BEZEL drivers side
1016879CC
BEZEL passenger side
3
102707601CC
LAMP, HOUSING ASSY
4
102779701CC
BRACKET, HEADLIGHT
5
102742701CC
WIRE, HEADLIGHT
6
102707701CC
LAMP, BULB
7
102707801CC
8
102810401CC
SCREW
9
102763001CC
NUT
10
1017064CC
BRACKET
11
NUT NLA - Order 14D10 nut - Was 102206CC - A
Выбрано товаров: 0