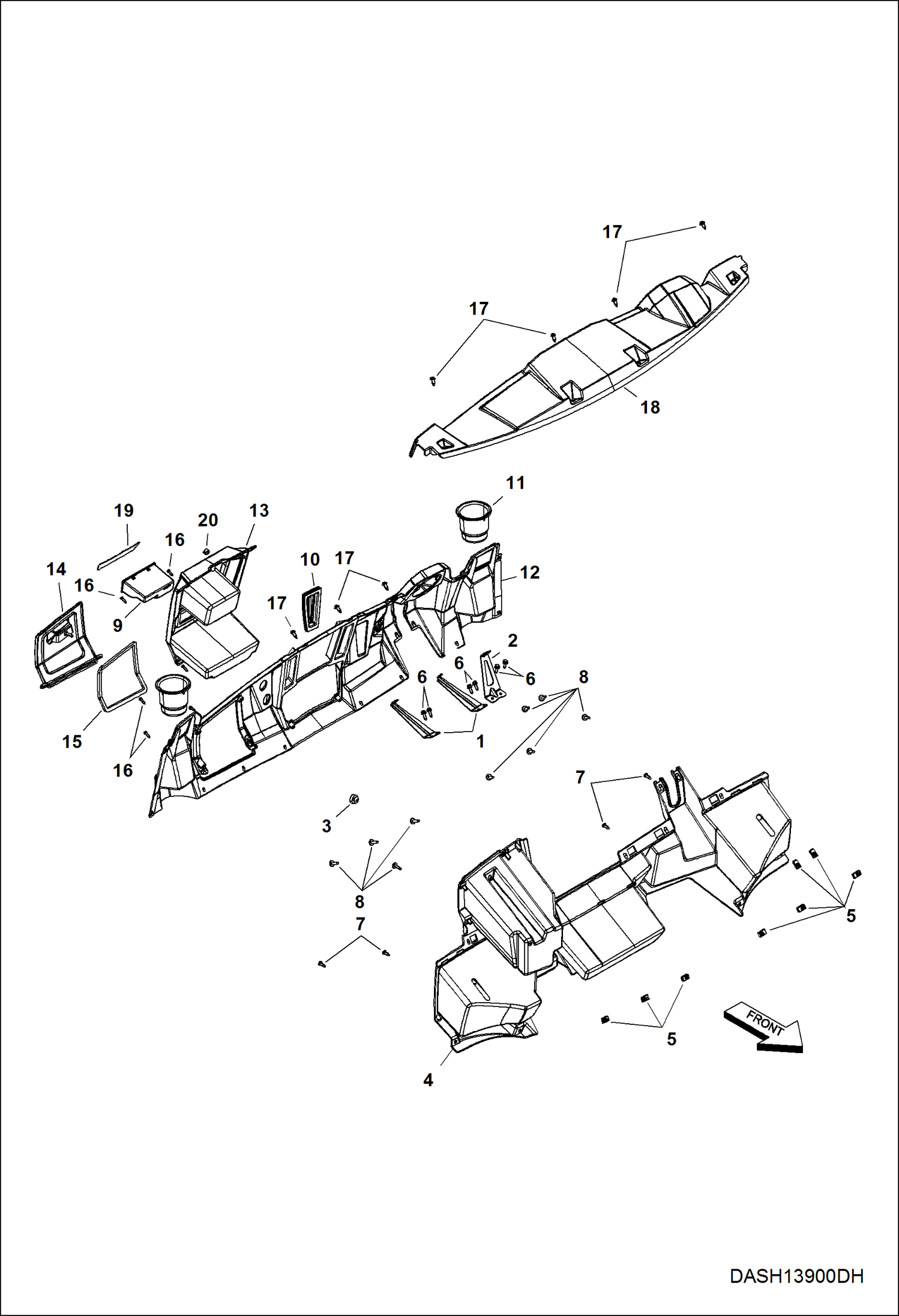
Запчасти Bobcat 3600 BODY, DASH MAIN FRAME

Схема запчастей Bobcat 3600 - BODY, DASH MAIN FRAME
FIT
1:1
100%

Артикул

Название

Примечание

Количество

1

7027639

BRACKET, MOUNT DASH

2

7027793

BRACKET, MOUNT DASH UPPER

3

7016417

GROMMET, RUBBER MOUNT

4

7027804

STORAGE, DASH W/O cab

4

7027850

STORAGE, DASH W/cab

5

7023820

NUT

6

7016645

SCREW

7

7016650

SCREW

8

7024692

BOLT

9

7165344

STORAGE W/O cab

10

7027652

GROMMET, LEVER SHIFT

11

7016425

HOLDER, CUP

12

7027803

PANEL, DASH LOWER W/O cab

12

7027838

PANEL, DASH LOWER W/cab

13

7027825

PANEL, DASH CONTROLS W/O cab

13

7027841

PANEL, DASH CONTROLS W/cab

14

7027828

COVER, GLOVEBOX

15

7027684

SEAL, GLOVEBOX

16

7016615

SCREW

17

7016585

RIVET, TUFLOK, .315, .325X.787

18

7027826

PANEL, DASH UPPER W/O cab

18

7027845

PANEL, DASH UPPER W/cab

19

7027849

COVER, HVAC W/cab

20

7027713

PLUG

Выбрано товаров: 24