Запчасти Case IH 3440 (44) - BELTS AND ROLLER ASSEMBLIES 5 AND 6

Схема запчастей Case IH 3440 - (44) - BELTS AND ROLLER ASSEMBLIES 5 AND 6
FIT
1:1
100%

Артикул

Название

Примечание

Количество

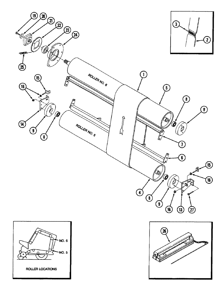
1

ZA105005

BELT

- roller, endless, 11 inch (279 MM) wide (Alternate part is ZA105003)

4шт.

2

ZA105003

BELT

- Roller, 11 inch (279 mm) wide (Alternate part is ZA105005)

4шт.

3

ZA102977

PIN

- belt

1шт.

4

ZA105917

ROLLER

ASSEMBLY - number 5

1шт.

5

ZA105918

ROLLER

ASSEMBLY - number 6

1шт.

6

ZA105982

DIVIDER

- belt

1шт.

7

ZA105913

STRIPPER

SCRAPER - roller

1шт.

8

ZA105794

BALL BEARING

BEARING - hex bore, 1.25 inch (32 MM) ID

3шт.

9

ZA105799

COLLAR

- bearing

3шт.

13

ZA104987

BRACKET

TIGHTENER - left

1шт.

14

ZA104986

BRACKET

TIGHTENER - right

1шт.

15

ZA104982

CLIP

- angle

2шт.

16

120377

NUT,3/8" - 16, Gr 5

4шт.

19

27908R1

BOLT,1/2" x 1 1/4", Gr 8

- hex, 1/2 NC x 1-1/4 inch, grade 8

1шт.

20

357020R1

WASHER

- flat, 17/32 x 1-3/4 x 1/4 inch (13 x 44 x 6 MM)

1шт.

21

ZA104593

HUB

- splined

1шт.

22

ZA104227

SPROCKET ASSY.

SPROCKET - 30 tooth

1шт.

23

96328C1

BALL BEARING,40mm ID x 80mm OD x 22mm W

ball, 1.57 inch (40 MM) ID

1шт.

24

ZA104841

HOUSING

- bearing

1шт.

25

NSS

NOT SOLD SEPARAT

CHAIN ASSEMBLY - roller 10 to rollers 8 and 6 (Use 187 links from bulk chain 611362R91, and 1 connecting link 574532R91)

1шт.

611362R91

CHAIN (AG)

CHAIN - 10 foot (3 M) roll

1шт.

574532R91

CLIP, SPRING

LINK - chain, connecting

1шт.

26

1254050C1

TOOL

LACER - belt, 6 inch (152 MM)

1шт.

27

1960708C1

BOLT

- hex, special

2шт.

208790C1

PACKAGE

KIT - repair, belt (Box of lacing hooks)

1шт.

Выбрано товаров: 25