Запчасти Case IH 3450 (10) - HYDRAULIC SYSTEM AND LATCH

Схема запчастей Case IH 3450 - (10) - HYDRAULIC SYSTEM AND LATCH
FIT
1:1
100%

Артикул

Название

Примечание

Количество

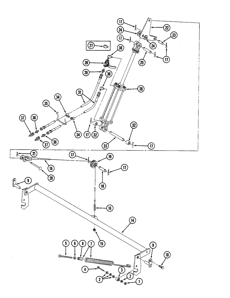
1

9413979

LOCK NUT,3/8"-16, GC

NUT - hex lock, 3/8 inch NC

2шт.

2

21403R1

WASHER

- flat, 13/32 x 1 x 1/8 inch (10 x 25 x 3 mm)

8шт.

3

96339C1

CAMSHAFT BEARING,0.3752" ID x 1.25" OD x 0.8025"

- cam follower (Replaces ZA015882)

2шт.

4

24621R1

BOLT,Hex, 3/8" - 16 x 2 1/4", Gr 8

2шт.

5

445608

BOLT,Hex, 1/2" - 13 x 5 1/2", Gr 5

- hex, 1/2 NC x 5-1/2 inch

2шт.

6

120378

NUT,Hex, 1/2" - 13, Gr 5

NUT, 1/2"-13, G5

2шт.

7

ZA104886

SPRING

2шт.

8

1281009C1

INSERT

PLUG - spring

2шт.

9

ZA104672

PIN

- latch

2шт.

10

17351R1

CARRIAGE BOLT,Short Sq Nk, 3/8" - 16 x 1", Gr 2

BOLT - round head square neck, 3/8 NC x 1 inch

2шт.

14

ZA104675

LATCH

1шт.

15

9413956

LOCK NUT,1/2"-13, GB

NUT - hex lock, 1/2 inch NC

1шт.

16

ZA104895

CABLE

- latch

1шт.

17

432-1628

COTTER PIN,1/4" x 1 3/4"

Pin, Split (Cotter), 1/4" x 1 3/4"

1шт.

18

62575C1

PIN

- pulley

1шт.

19

1281014C1

PULLEY

- lift

1шт.

20

21957R1

HEADED PIN,5/8" x 2"

PIN - headed, 5/8 x 2 inch

1шт.

21

103397

COTTER PIN,5/32" x 1 1/4"

Pin, Split (Cotter), 5/32" x 1 1/4"

1шт.

22

ZA105617

PLATE

- pivot (Replaces ZA104724)

1шт.

23

22983R1

HEADED PIN,1" x 2"

PIN - headed, 1 x 2 inch

1шт.

24

21214R1

WASHER

- flat, 1-5/32 x 2 x 1/4 inch (29 x 50 x 6 mm)

2шт.

25

63196C1

PIN

- clevis

1шт.

26

ZA104773

CYLINDER

- hydraulic (See Page 15)

1шт.

27

454104

ELBOW

- 90 degree street, 3/8 NPTF (Used with valve ZA105143 only)

1шт.

28

ZA103758

VALVE

- rotary (Replaces ZA105143) (Also furnish elbow ZA015969)

1шт.

29

610774R1

HYD CONNECTOR,9/16"-18, 37 Degree x 3/8"-18, NPTF

CONNECTOR - straight, 3/8 to 3/8 NPTF

1шт.

30

333934R1

ELBOW,90 Degree, 9/16"-18, 37 Degree x 3/8"-18, NPTF

- 90 degree, 3/8 NPTF

1шт.

31

147779C1

HYDRAULIC HOSE

HOSE ASSEMBLY - 145 inch (3683 mm) long

2шт.

32

M74461

SPACER,26.6mm ID x 33.4mm OD x 19mm L

2шт.

33

110928C1

PIN - cylinder

1шт.

34

299407C1

CLAMP

2шт.

35

533959R1

CABLE TIE,.135" x 11"

TIE - hose

3шт.

36

REF

INSTRUCTION

CONNECTOR - (See Page 19)

2шт.

37

ZA104704

VALVE

- throttle (Prior to P.I.N. 000800) (Used with connector 607728R1)

2шт.

38

1336822C1

ELBOW

- 90 degree, 3/8 NPTF (Used with valve ZA103758 only)

1шт.

Выбрано товаров: 35