Запчасти Case IH 3450 (12) - BALE SLICER ATTACHMENT

Схема запчастей Case IH 3450 - (12) - BALE SLICER ATTACHMENT
FIT
1:1
100%

Артикул

Название

Примечание

Количество

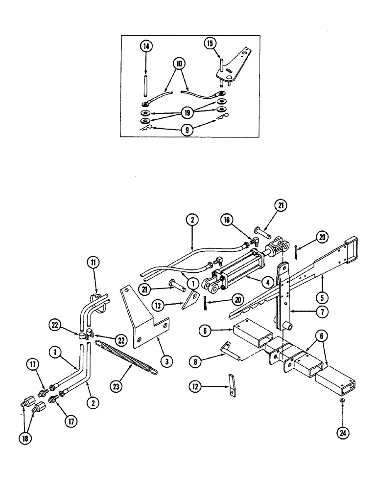
1

810601C1

HYDRAULIC HOSE,9.53mm ID x 4191mm L

HOSE ASSEMBLY - 162 inch (4114 mm) long

1шт.

2

1261399C1

HYDRAULIC HOSE,6.35mm ID x 4570mm L

HOSE ASSEMBLY - 174 inch (4419 mm) long

1шт.

3

ZA105617

PLATE

- pivot

1шт.

4

ZA206042

CYLINDER

- hydraulic (See Page 17)

1шт.

5

ZA105801

KNIFE

1шт.

6

ZA105603

TUBE

1шт.

7

ZA105615

PIVOT

1шт.

8

ZA105612

PIN

1шт.

9

407211R1

CLIP

PIN - klik (Package of 20)

2шт.

10

ZA105609

CABLE

- actuator stop

1шт.

11

291207C1

CLAMP

STRAP - tie

6шт.

12

ZA105605

GUIDE

- belt

1шт.

13

ZA105616

ANCHOR

1шт.

14

ZA105611

PIN

- 1/2 x 3.4 inch long

1шт.

15

ZA105646

PLATE

- pivot

1шт.

16

333934R1

ELBOW,90 Degree, 9/16"-18, 37 Degree x 3/8"-18, NPTF

- 90 degree, 3/8 NPTF

2шт.

17

ZA105659

FITTING

RESTRICTOR - orifice (.030)

2шт.

570828R1

O-RING,0.087" Thk x 0.644" ID, -908, Cl 6, 90 Duro

- 1/2 OD tube

2шт.

18

REF

INSTRUCTION

CONNECTOR - (See Page 19)

2шт.

19

NLS

NO LONGER SERVICED

- flat, 17/32 x 1-1/16 x 3/32 inch (13 x 26 x 2 mm)

4шт.

20

103409

PIN, SPLIT (COTTER),3/16" x 1 1/2"

2шт.

21

27257R1

HEADED PIN,1" x 3"

PIN - headed, 1 x 3 inch

2шт.

22

98959R1

CLAMP

2шт.

23

97767C1

SPRING

1шт.

24

120394

WASHER,3/8", SAE

WASHER - flat, 13/32 x 13/16 x 1/16 inch (10 x 20 x 1 mm)

4шт.

Выбрано товаров: 25