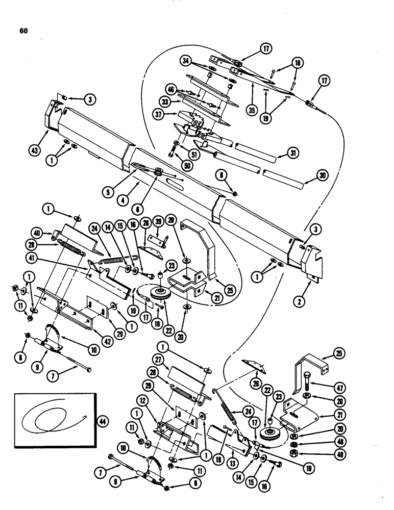
Запчасти Case IH 3640 (60) - TWINE TUBES AND CUTOFF

Схема запчастей Case IH 3640 - (60) - TWINE TUBES AND CUTOFF
FIT
1:1
100%

Артикул

Название

Примечание

Количество

1

136764H1

WASHER - flat, 13/32 x 1-3/8 x 1/8 inch (10 x 35 x 3 mm)

16шт.

2

ZA105236

SHIELD

- end, left

1шт.

3

488837C1

SPRING NUT

- speed

4шт.

4

ZA105985

SHIELD

- threader, front

1шт.

5

ZA105332

BOLT

U-BOLT - 1/4 inch NC

1шт.

6

ZA105333

GUIDE

- twine

1шт.

7

189293

BOLT,Hex, 1/4" - 20 x 3 1/2", Gr 5

- hex, 1/4 NC x 3-1/2 inch

2шт.

8

378531R1

LOCK NUT,1/4"-20, GA

NUT - hex lock, 1/4 inch NC

4шт.

9

ZA105271

CLAMP

- twine

2шт.

10

ZA746267

SPRING

- twine clamp

2шт.

11

9413979

LOCK NUT,3/8"-16, GC

NUT - hex lock, 3/8 inch NC, Grade 8

4шт.

12

ZA105153

SUPPORT

- cutoff, left

1шт.

13

ZA105273

ARM

- jam, left

1шт.

14

133135C1

WASHER

WASHER - shim, 17/32 x 1-1/2 x 1/64 inch (13 x 38 x 0.38 mm)

4шт.

15

25710R1

WASHER

- flat, hardened

2шт.

16

96313C1

BOLT

- shoulder, 3/8 inch NC

2шт.

17

ZA105891

CABLE

ASSEMBLY - threader

2шт.

18

138082

CLEVIS PIN,3/16" x .580"

PIN - clevis, 3/16 x 37/64 inch

2шт.

19

103362

COTTER PIN,1/16" x 3/4"

Pin, Split (Cotter), 1/16" x 3/4"

2шт.

20

20893R1

WASHER

- flat, 11/32 x 1 x 7/64 inch (9 x 25 x 3 mm)

4шт.

21

ZA105063

SUPPORT

- pulley

2шт.

22

ZA206636

PULLEY

- twine threader

2шт.

23

ZA206630

SPACER

- pulley

2шт.

24

ZA105331

SPRING

- extension

2шт.

25

ZA105337

GUIDE

- twine

2шт.

26

ZA105239

ANCHOR

- spring

2шт.

27

ZA105157

SUPPORT

TRIGGER - left

1шт.

28

ZA105197

SPRING

- extension

2шт.

29

ZA104892

KNIFE

- twine cutoff

2шт.

30

ZA105964

TUBE

ASSEMBLY - twine, left

1шт.

31

ZA105963

TUBE

ASSEMBLY - twine, right

1шт.

33

ZA105051

SUPPORT

ASSEMBLY - twine tube

1шт.

34

20885R1

WASHER

- flat, 1-5/32 x 2 x 1/16 inch (29 x 51 x 2 mm)

1шт.

35

ZA105336

BRACKET

- cable pull

2шт.

37

ZA105065

GEAR

- spur, 6 tooth

2шт.

39

ZA105886

BRACKET

ASSEMBLY - anchor

1шт.

40

ZA105156

SUPPORT

TRIGGER - right

1шт.

41

ZA105272

ARM

- jam, right

1шт.

42

ZA105152

SUPPORT

- cutoff, right

1шт.

43

ZA105235

SHIELD

- end, right

1шт.

44

ZA104769

ELECTRICAL WIRE

WIRE - twine thread, 41 inch (1 041 mm)

1шт.

46

87414

LUBE NIPPLE,1/4" - 28

FITTING - grease, thread forming, 1/4 inch

2шт.

47

180083

BOLT,Hex, 5/16" - 18 x 1 1/2", Gr 5

- hex, 5/16 NC x 1-1/2 inch

1шт.

48

80681

LOCK WASHER,5/16"

WASHER, LOCK, 5/16"

1шт.

49

120376

NUT,5/16"-18, G5

1шт.

50

180123

BOLT,Hex, 3/8" - 16 x 1 1/8", Gr 5, Full Thd

- hex, 3/8 NC x 1-1/8 inch

1шт.

51

120382

LOCK WASHER,Helical Spring, 3/8"

WASHER, LOCK, 3/8"

1шт.

Выбрано товаров: 47