Запчасти Case IH 8420 (06-04) - THREADER ASSEMBLY (14) - BALE CHAMBER

Схема запчастей Case IH 8420 - (06-04) - THREADER ASSEMBLY (14) - BALE CHAMBER
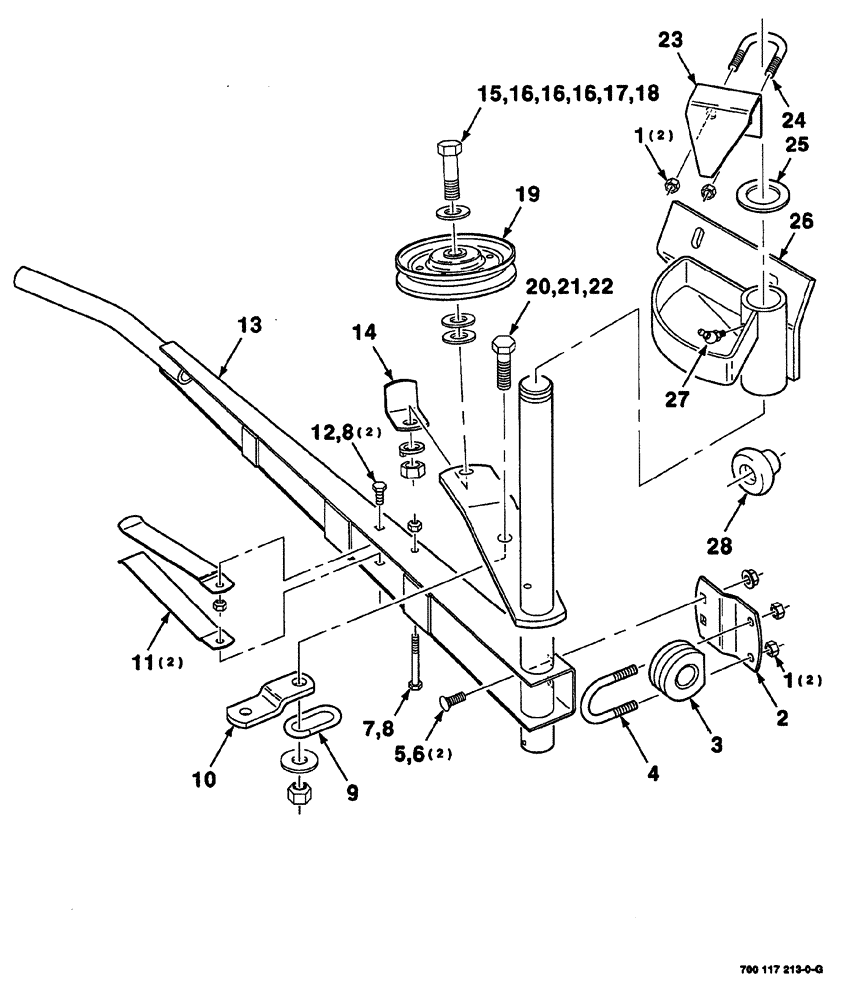
25
11
15
1
17
16
26
21
1
7
19
18
10
4
22
20
16
2
28
27
16
23
8
24
9
6
3
12
8
14
5
13
FIT
1:1
100%

Артикул

Название

Примечание

Количество

1

230-4115

LOCK NUT,5/16"-18, GA

lock, hex top, 5/16"-18, GR/B

4шт.

2

700117223

GUIDE

BRACKET twine

1шт.

3

7745003

GUIDE

1шт.

4

51200861

U-BOLT

1шт.

5

433-512

CARRIAGE BOLT,Sq Nk, 5/16" - 18 x 3/4", Gr 5

2шт.

6

231-5145

SERRATED NUT,Flg, USR, 5/16"-18

2шт.

7

413-436

BOLT,Hex, 1/4" - 20 x 2-1/4", Gr 5

1шт.

8

232-4114

LOCK NUT,1/4"-20, GC

hex top, 1/4"-20, GR/B

3шт.

9

087312

LINK

endlap

1шт.

10

700101800

SPRING-CHECK

STOP

1шт.

11

700707665

LARGE PLATE

PLATE, LARGE SPRING leaf

2шт.

12

413-410

BOLT,Hex, 1/4" - 20 x 5/8", Gr 5

2шт.

13

700117214

ARM

WA twine

1шт.

14

700101799

SLIDE GUIDE

rope

1шт.

15

413-840

BOLT,Hex, 1/2" - 13 x 2-1/2", Gr 5

SCREW hex cap, 1/2"-13 x 2-1/2"

1шт.

16

705541

WASHER,0.53" ID x 1.06" OD x 0.14" Thk

hardened plain, 1/2"

3шт.

17

80679

LOCK WASHER,1/20.507 CST ZND

1шт.

18

425-108

NUT,1/2" - 13, Gr 5

1шт.

19

161430C91

PULLEY

V-IDLER

1шт.

20

413-828

BOLT,Hex, 1/2" - 13 x 1-3/4", Gr 5

1шт.

21

495-21056

WASHER,1/2"

wide plain, 1/2"

1шт.

22

230-4118

LOCK NUT,1/2"-13, GA

lock, hex top, 1/2"-13, GR/B

1шт.

23

700117139

SUPPORT

shaft

1шт.

24

700707910

BOLT

U

1шт.

25

52324

BUSHING

machinery, narrow rim, 1-1/4" x 10 gauge

1шт.

26

700117220

PIVOT

WA twine arm

1шт.

27

219-90

LUBE NIPPLE,45 Degree Elbow, 1/4" -28 NPTF

ZERK, 1/4"-28 x 45°

1шт.

28

7741952

KNOB

rope

1шт.

Выбрано товаров: 28